Partiron

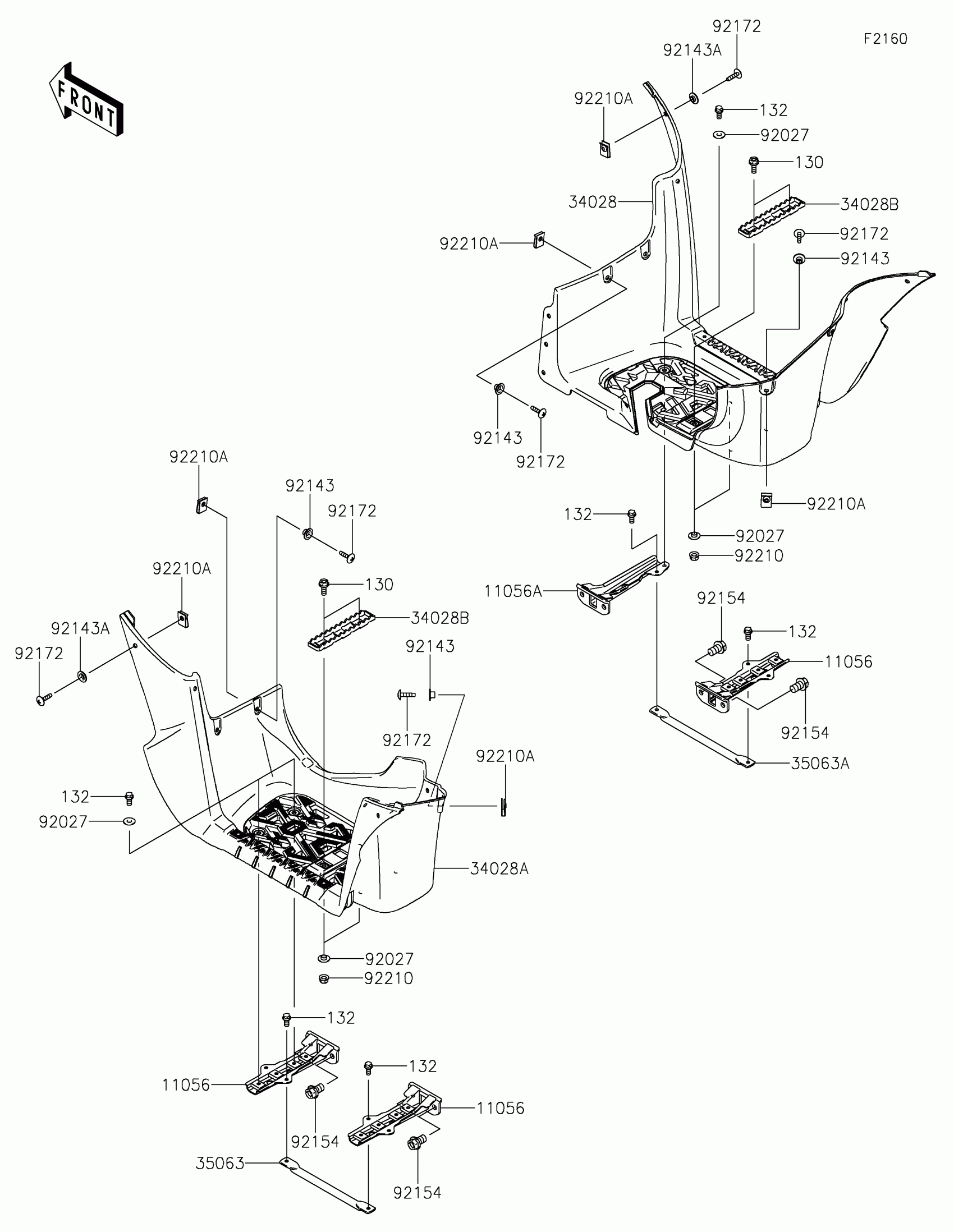
Kawasaki BRUTE FORCE® 750 LE EPS Footrests Diagram

#

Description
Price

11056

BRACKET,FOOT BOARD

11056-1036

$37.28

11056A

BRACKET,FOOT BOARD

11056-1037

$37.28

34028

STEP,FOOT BOARD,RH,F.BLACK

34028-0055-6Z

$64.26

34028A

STEP,FOOT BOARD,LH,F.BLACK

34028-0146-6Z

$64.26

34028B

STEP,FOOT PEG,F.BLACK

34028-1487-21

$8.79

35063

STAY,STEP,LH

35063-0394

$8.76

35063A

STAY,STEP,RH

35063-0395

$8.76

92027

COLLAR

92027-4020

$4.65

92143

COLLAR

92143-1057

$5.00

92143A

COLLAR

92143-1087

$4.31

92154

BOLT,FLANGED,10X16

92154-0760

$1.94

92172

SCREW,TAPPING,6X20

92172-0488

$3.02

92210

NUT,LOCK,FLANGED,6MM

92210-0303

$1.34

92210A

NUT,LEAF SPRING,6MM

92210-0624

$2.32

130

BOLT-FLANGED,6X16

130BA0616

$1.20

132

BOLT-FLANGED-SMALL,6X12

132BA0612

$1.20