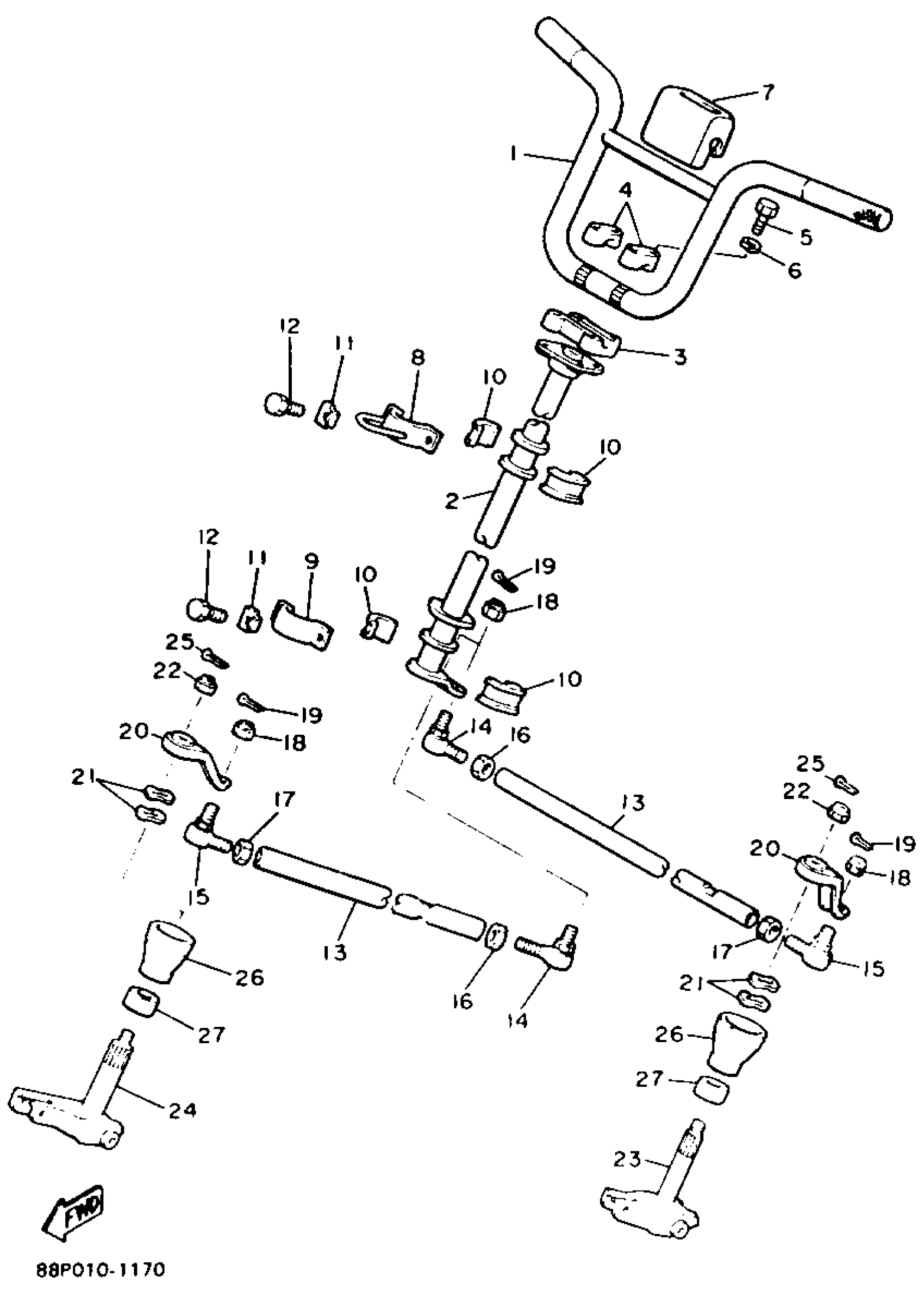
Yamaha BR250TU (BRAVO LT) 1994 STEERING Diagram
#
Description
Price
3
HANDLE, HOLDER
164-23441-01-98
Unavailable
7
COVER, STEERING
8F3-23818-00-00
Unavailable
8
HOLDER, BEARING
84M-23872-00-00
Unavailable
9
BRACKET, STEERING LOWER
84M-23868-00-00
Unavailable
10
BEARING, STEERING
8F3-23812-00-00
Unavailable
13
ROD, STEERING RELAY
8R4-23821-00-00
Unavailable
16
NUT (682)
95380-10700-00
Unavailable
17
NUT, HEXAGON (8A5)
90170-10186-00
Unavailable
18
NUT, SELF-LOCKING (8J8)
90185-10085-00
Unavailable
19
PIN, COTTER
91490-25020-00
Unavailable
20
ARM, OUTSIDE 1
88P-23851-00-00
Unavailable
21
WASHER, WAVE (878)
90206-20037-00
Unavailable
22
NUT, NYLON
95707-10300-00
Unavailable
23
COLUMN, SKI 1
8Y1-23853-00-00
Unavailable
24
COLUMN, SKI 2
8Y1-23854-00-00
Unavailable
25
PIN, COTTER
91490-25020-00
Unavailable
26
COVER 2
8U0-2198G-00-00
Unavailable
27
SPACER
8Y1-21998-00-00
Unavailable
