Yamaha BR250TR (BRAVO LT (LONG TRACK)) 1991 SKI Diagram
#
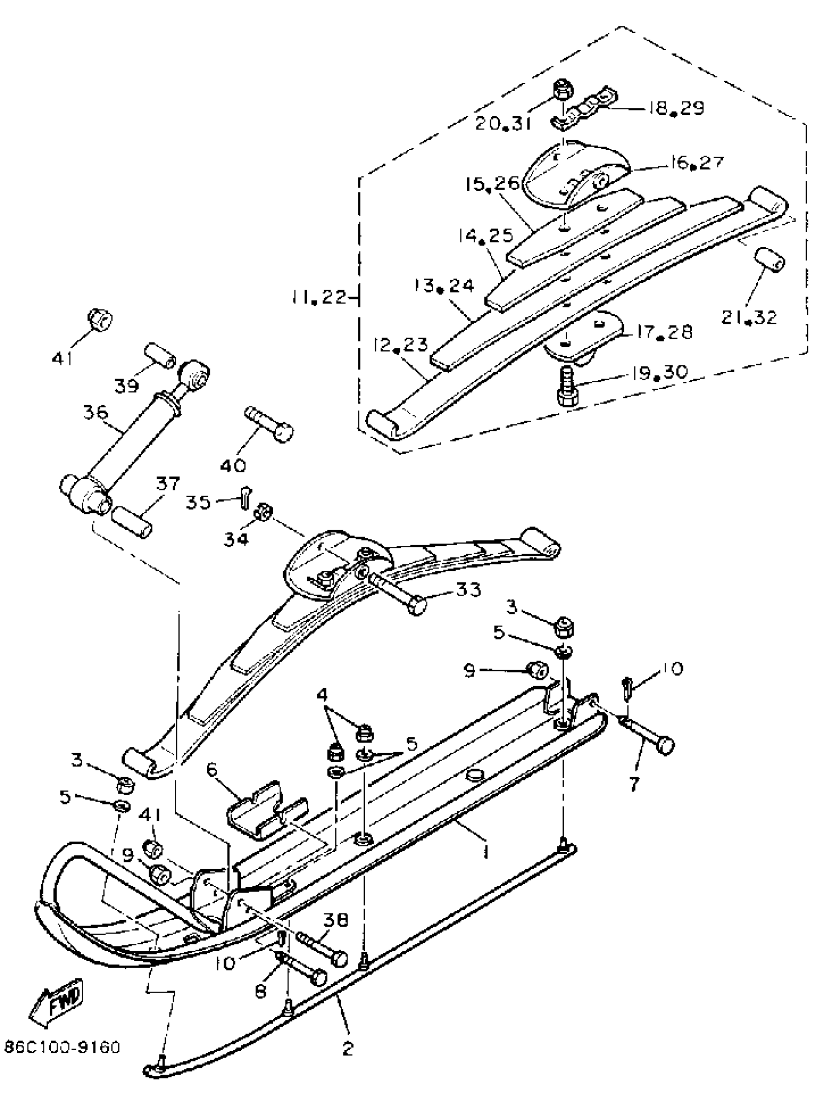
1
SKI COMP. 1
8E3-23710-09-00
Unavailable
2
RUNNER 1
8E3-23731-00-XX
Unavailable
5
.. WASHER, PLATE
92990-08600-00
Unavailable
6
PLATE, WEAR
888-23735-00-00
Unavailable
11
SPRING ASSY 1
8M8-23760-10-00
Unavailable
12
LEAF 1
888-23761-10-00
Unavailable
13
LEAF 2
865-23762-10-00
Unavailable
14
LEAF 3
899-23763-10-00
Unavailable
15
LEAF 4
899-23764-10-00
Unavailable
16
SADDLE
8G6-23766-00-00
Unavailable
17
. SEAT, SPRING 1
878-23768-00-00
Unavailable
18
WASHER, ROCK (8J5)
90215-10155-00
Unavailable
19
. BOLT
90109-105E1-00
Unavailable
20
NUT, SELF-LOCKING (8J8)
90185-10085-00
Unavailable
21
COLLAR
90387-08478-00
Unavailable
22
SPRING ASSY 2
8M8-23770-10-00
Unavailable
23
LEAF 1
888-23761-10-00
Unavailable
24
LEAF 2
865-23762-10-00
Unavailable
25
LEAF 3
899-23763-10-00
Unavailable
26
LEAF 4
899-23764-10-00
Unavailable
27
SADDLE
8G6-23766-00-00
Unavailable
28
. SEAT, SPRING 1
878-23768-00-00
Unavailable
29
WASHER, ROCK (8J5)
90215-10155-00
Unavailable
30
. BOLT
90109-105E1-00
Unavailable
31
NUT, SELF-LOCKING (8J8)
90185-10085-00
Unavailable
32
COLLAR
90387-08478-00
Unavailable
33
BOLT, PIN HOLE (8G6)
90102-12030-00
Unavailable
34
NUT, CASTLE
95307-12900-00
Unavailable
35
PIN, COTTER
91490-30030-00
Unavailable
36
CUSHION ASSY
8J6-23350-00-00
Unavailable
37
COLLAR (878)
90387-08262-00
Unavailable
38
BOLT, HEXAGON
97017-08055-00
Unavailable
39
COLLAR (864)
90387-08224-00
Unavailable
40
BOLT(6TC)
97027-08070-00
Unavailable
