Partiron

Yamaha BR250TN (BRAVO T (LONG TRACK)) 1989 METER Diagram

#

Description
Price

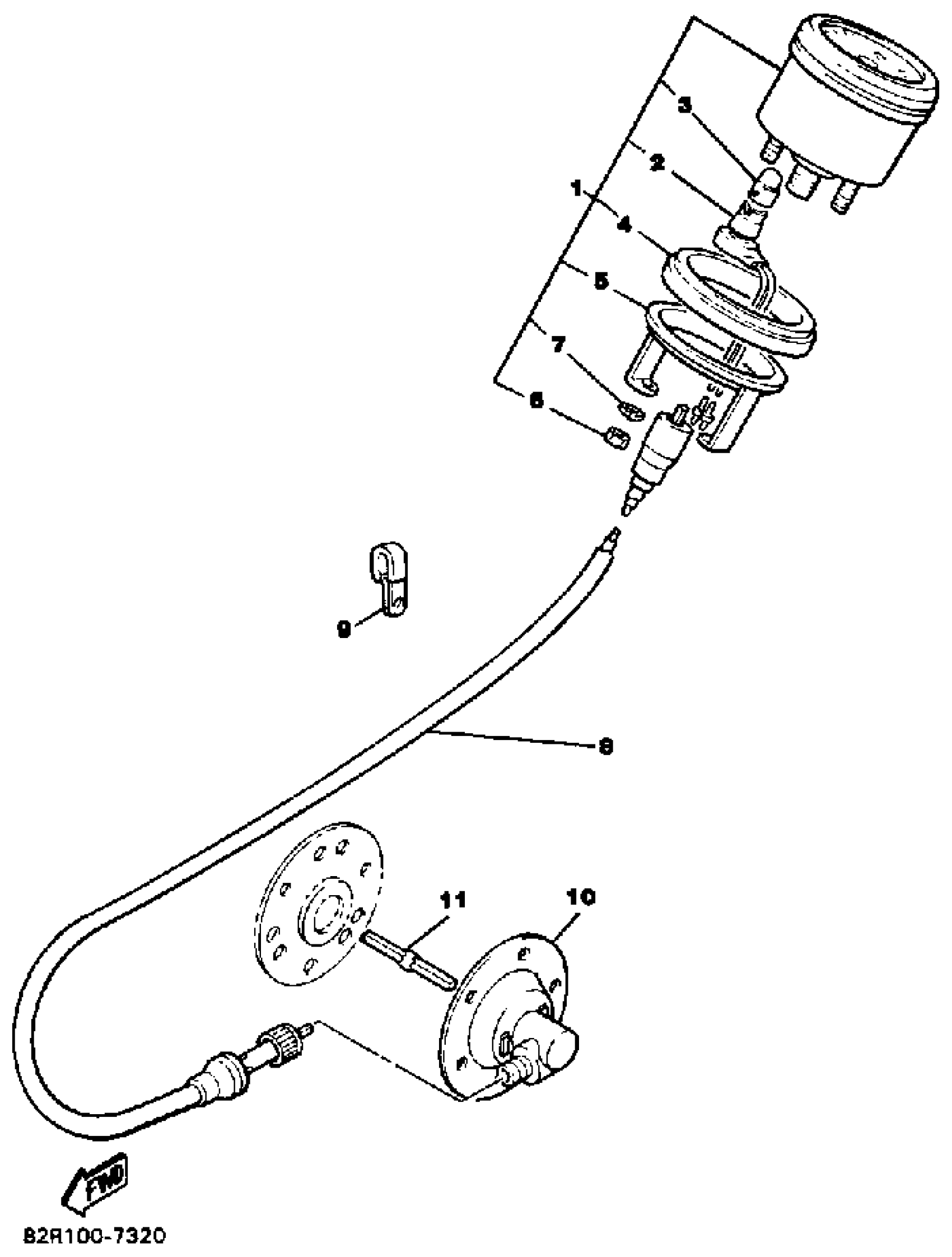
1

. SPEEDOMETER ASSY (MILE/H)

80V-83510-40-00

Unavailable

2

SOCKET CORD ASSY

5E2-83509-20-00

$28.99

3

BULB, MTR.12V3.4W

4G1-84744-00-XX

Unavailable

4

DAMPER, METER

8G6-83523-00-00

Unavailable

5

. BRACKET, METER

8G6-83519-00-00

Unavailable

6

NUT, HEXAGON (663)

95380-05600-00

$8.49

7

YBS67-5 WASHER, SPRING

92990-05100-00

$0.35

8

SPEEDOMETER CABLE ASSY

8Y8-83550-00-00

$35.99

9

CLAMP

90464-25267-00

$7.49

10

METER GEAR HOUSING COMP

8Y1-47700-00-00

$72.99

11

JOINT

8K4-47715-00-00

$5.60