- Partiron
- OEM Parts
- Yamaha
- snowmobile
- 1999
- BR250TC (BRAVO LT) 8BD6 1999
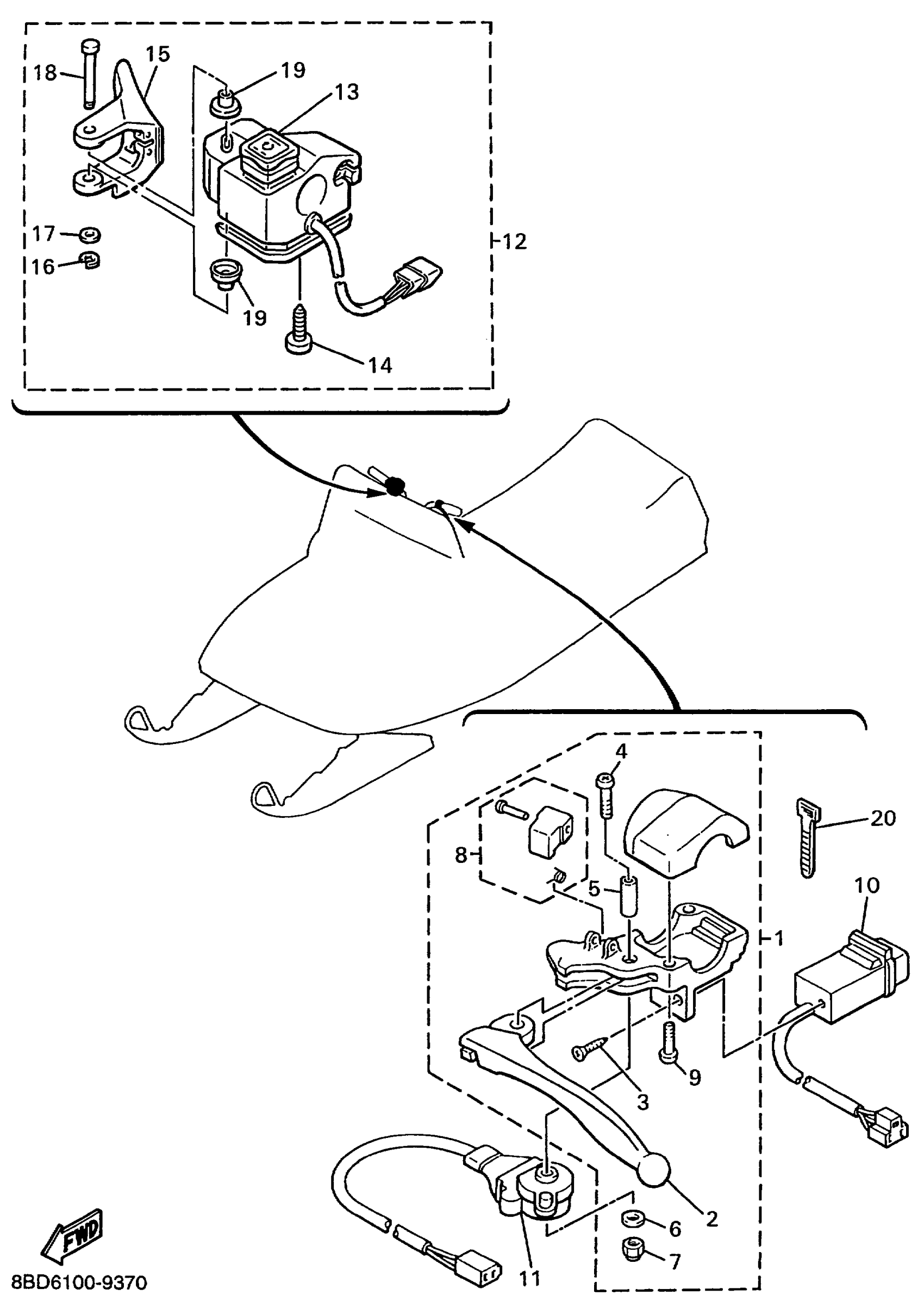
HANDLE SWITCH LEVER
Yamaha BR250TC (BRAVO LT) 8BD6 1999 HANDLE SWITCH LEVER Diagram
#
Description
Price
1
LEVER HOLDER ASSY (LEFT)
8R4-W8291-02-00
Unavailable
2
LEVER L
803-83912-00-38
Unavailable
3
. SCREW, TAPPING
97780-30312-00
Unavailable
4
SCREW, PAN HEAD(89B)
90157-05114-00
Unavailable
5
COLLAR, LEVER
802-83913-00-00
Unavailable
6
. WASHER, PLAIN
92990-05200-00
Unavailable
8
LEVER LOCK ASSY
8E3-W8393-01-00
Unavailable
9
SCREW, PAN HEAD(41N)
90157-05057-00
Unavailable
13
ENGINE STOP SWITCH ASSY
8AD-82575-09-00
Unavailable
16
CIRCLIP (EU0)
99080-04600-00
Unavailable
17
WASHER, SPECIAL
85G-83663-00-00
Unavailable
18
SHAFT
8R6-8399F-00-00
Unavailable
19
CAP 1
85G-83956-00-00
Unavailable
20
BAND, SWITCH CORD
437-83936-01-00
Unavailable
