- Partiron
- OEM Parts
- Yamaha
- snowmobile
- 1998
- BR250TB (BRAVO LT) 1998
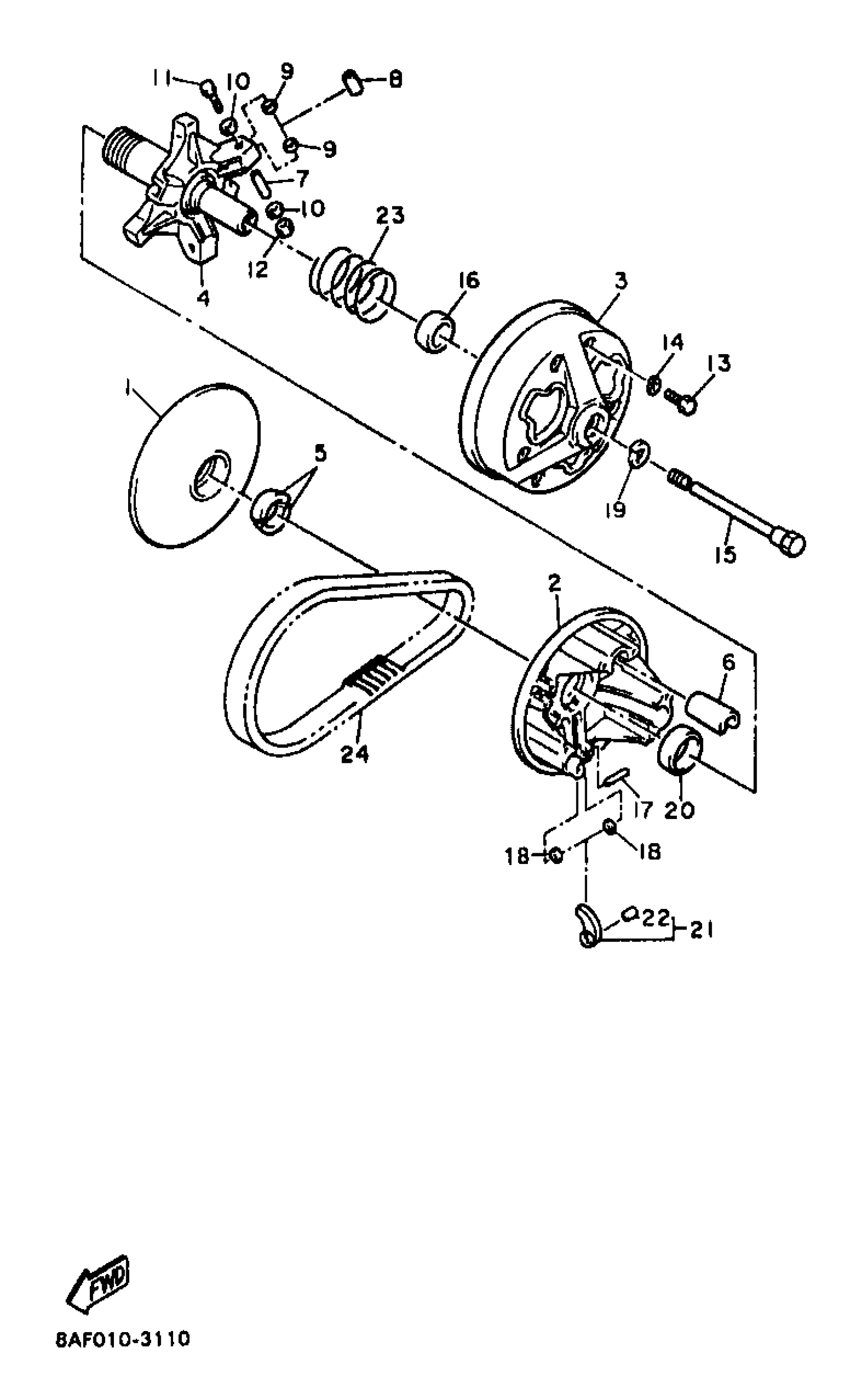
PRIMARY SHEAVE
Yamaha BR250TB (BRAVO LT) 1998 PRIMARY SHEAVE Diagram
#
Description
Price
1
SHEAVE, PRIMARY FIXED
84J-17611-00-00
Unavailable
2
. SHEAVE, PRIMARY SLIDING
8V0-17621-01-00
Unavailable
3
CAP
8V0-17631-00-00
Unavailable
4
. SPIDER COMPLETE
8V0-17640-02-00
Unavailable
11
BOLT, HEXAGON
97027-05035-00
Unavailable
16
BUSH(83R)
90389-28032-00
Unavailable
17
PIN, DOWEL (8V8)
93607-44190-00
Unavailable
18
WASHER, PLATE (8V8)
90201-077F5-00
Unavailable
19
WASHER(JN5)
92907-16100-00
Unavailable
20
BUSH (81H)
90389-40029-00
Unavailable
21
WEIGHT, WITH BUSH
8V8-W176A-00-00
Unavailable
22
BUSH(83V)
90386-07152-00
Unavailable
23
SPRING, COMPRESSION(82R)
90501-554E8-00
Unavailable
24
V-BELT
89X-17641-01-00
Unavailable
