- Partiron
- OEM Parts
- Yamaha
- snowmobile
- 2011
- BR250TA1 (BRAVO 250) 8BDM 2011
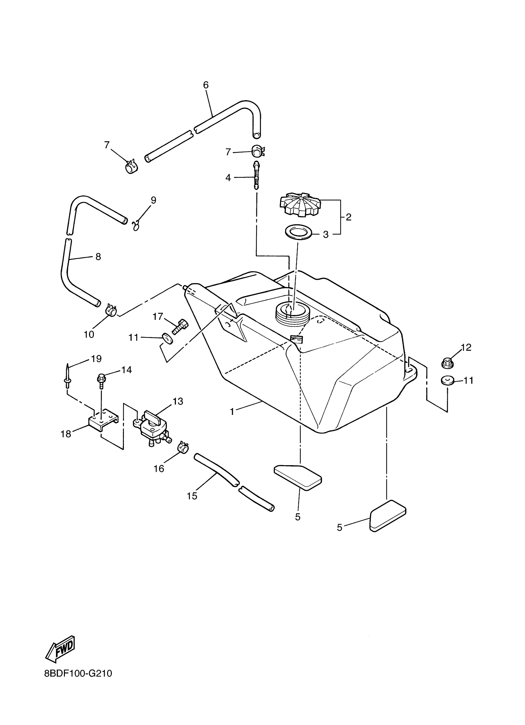
FUEL TANK 2
Yamaha BR250TA1 (BRAVO 250) 8BDM 2011 FUEL TANK 2 Diagram
#
Description
Price
1
TANK, FUEL
8BD-24211-10-00
Unavailable
3
GASKET, CAP 1
8BD-24641-10-00
Unavailable
5
PROTECTOR, FUEL TANK
8BD-24141-00-00
Unavailable
6
PIPE 2
8BD-24312-00-00
Unavailable
7
CLIP
90467-11028-00
Unavailable
8
HOSE
90445-09032-00
Unavailable
13
FUEL COCK ASSY 1
8BD-24500-00-00
Unavailable
15
PIPE 3
8BD-24313-00-00
Unavailable
16
CLIP
90467-11028-00
Unavailable
17
BOLT, HEXAGON
97017-08020-00
Unavailable
18
BRACKET, FUEL COCK
8BD-24544-00-00
Unavailable
19
RIVET, BLIND(3JB)
90267-48095-00
Unavailable
