- Partiron
- OEM Parts
- Yamaha
- snowmobile
- 1987
- BR250L (BRAVO) 1987
FUEL TANK
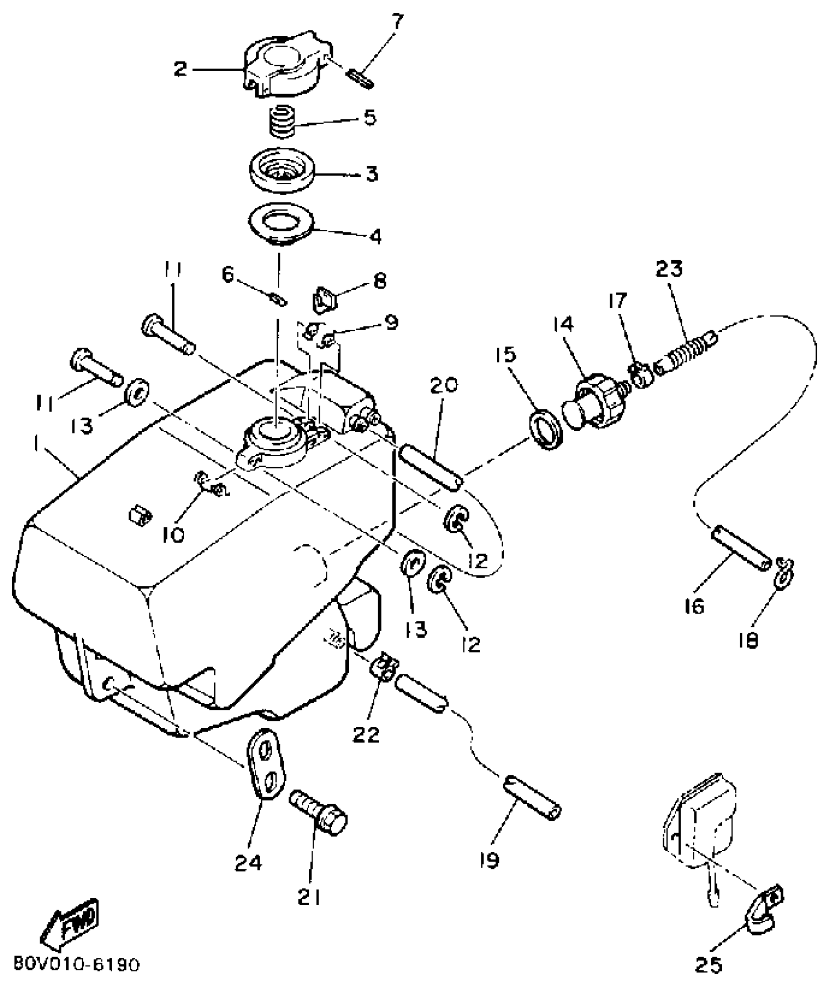
Yamaha BR250L (BRAVO) 1987 FUEL TANK Diagram
#
Description
Price
1
FUEL TANK
99999-02628-00
Unavailable
2
BODY, CAP
8A5-24611-00-00
Unavailable
6
PIN, SPRING
91690-30016-00
Unavailable
9
SPRING, TORSION(81E)
90508-10715-00
Unavailable
10
SPRING, TORSIOW (8F3)
90508-08353-00
Unavailable
14
FILTER ASSEMBLY
8R4-24560-00-00
Unavailable
16
TUBE, FLEXIBLE VINYL(86X)
91A20-07100-00
Unavailable
17
CLIP
90467-11028-00
Unavailable
18
CLIP (8J7)
90467-11009-00
Unavailable
19
TUBE, FLEXIBLE VINYL(8AT)
91A20-05145-00
Unavailable
20
TUBE, FLEXIBLE VINYL(8AT)
91A20-05145-00
Unavailable
21
BOLT, FLANGE(8AB)
95817-08020-00
Unavailable
22
CLIP (8A1)
90467-09026-00
Unavailable
23
PROTECTOR, PIPE
8F3-24327-00-00
Unavailable
24
WASHER, SPECIAL
8R4-24186-00-00
Unavailable
25
CLAMP (706)
90465-06100-00
Unavailable
