- Partiron
- OEM Parts
- Yamaha
- snowmobile
- 1985
- BR250J (BRAVO) 1985
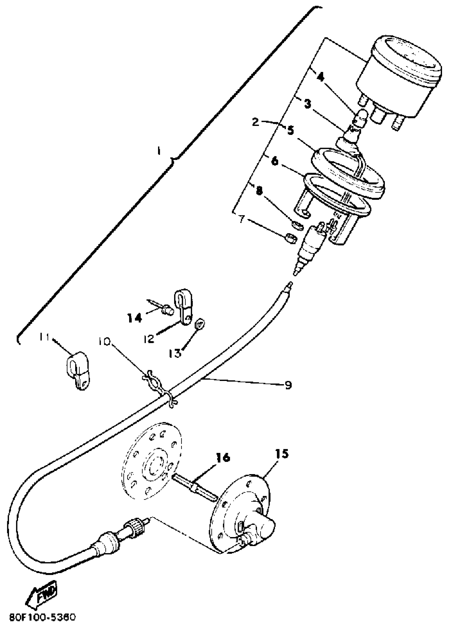
SPEEDOMETER KIT (ALTERNATE PARTS)
Yamaha BR250J (BRAVO) 1985 SPEEDOMETER KIT (ALTERNATE PARTS) Diagram
#
Description
Price
1
SPEDO KIT, BR250
80V-W0081-40-00
Unavailable
2
. SPEEDOMETER ASSY (MILE/H)
80V-83510-40-00
Unavailable
2
. SPEEDOMETER ASSEMBLY
8V7-83510-40-00
Unavailable
4
BULB, MTR.12V3.4W
4G1-84744-00-XX
Unavailable
5
DAMPER, METER
8G6-83523-00-00
Unavailable
6
. BRACKET, METER
8G6-83519-00-00
Unavailable
11
CLAMP (6A4)
90461-06M01-00
Unavailable
12
CLAMP
90465-08028-00
Unavailable
15
. METER GEAR HOUSING
8R4-47700-00-00
Unavailable
16
JOINT
8K4-47715-00-00
Unavailable
