- Partiron
- OEM Parts
- Polaris
- ATV
- 1997
- BIG BOSS 6X6 400L - W97AE38A
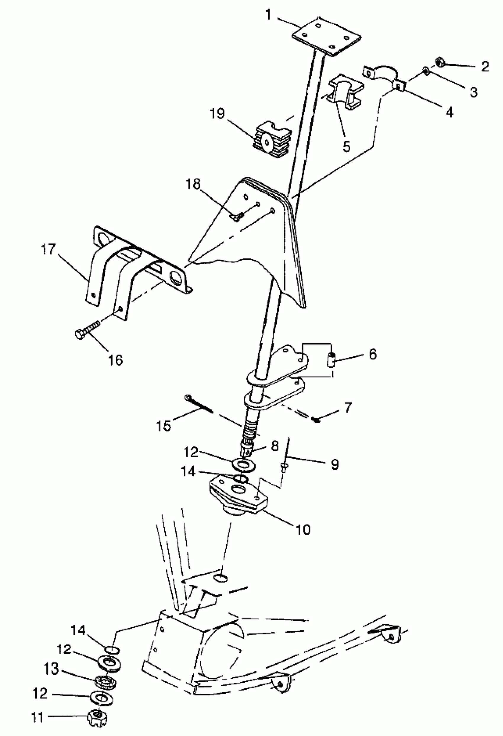
STEERING POST BIG BOSS 6X6 400L W97AE38A (4940814081B010)
Polaris BIG BOSS 6X6 400L - W97AE38A STEERING POST BIG BOSS 6X6 400L W97AE38A (4940814081B010) Diagram
#
Description
Price
1
POST,STRG.ASM. (Incl. 7, 8)
1843051
Unavailable
6
Bushing (See Pg. A27, Ref. 2)
-------
Unavailable
8
PLUG,GREASE,STRG.
5431574
Unavailable
13
SPACER, STRG.POST
5431571
Unavailable
15
PIN, COTTER(10)
7661633
Unavailable
17
Bracket, Ignition Panel (See Pg. A17, Ref. 20)
-------
Unavailable
