- Partiron
- OEM Parts
- Polaris
- ATV
- 1995
- BIG BOSS 6X6 400L - W958740
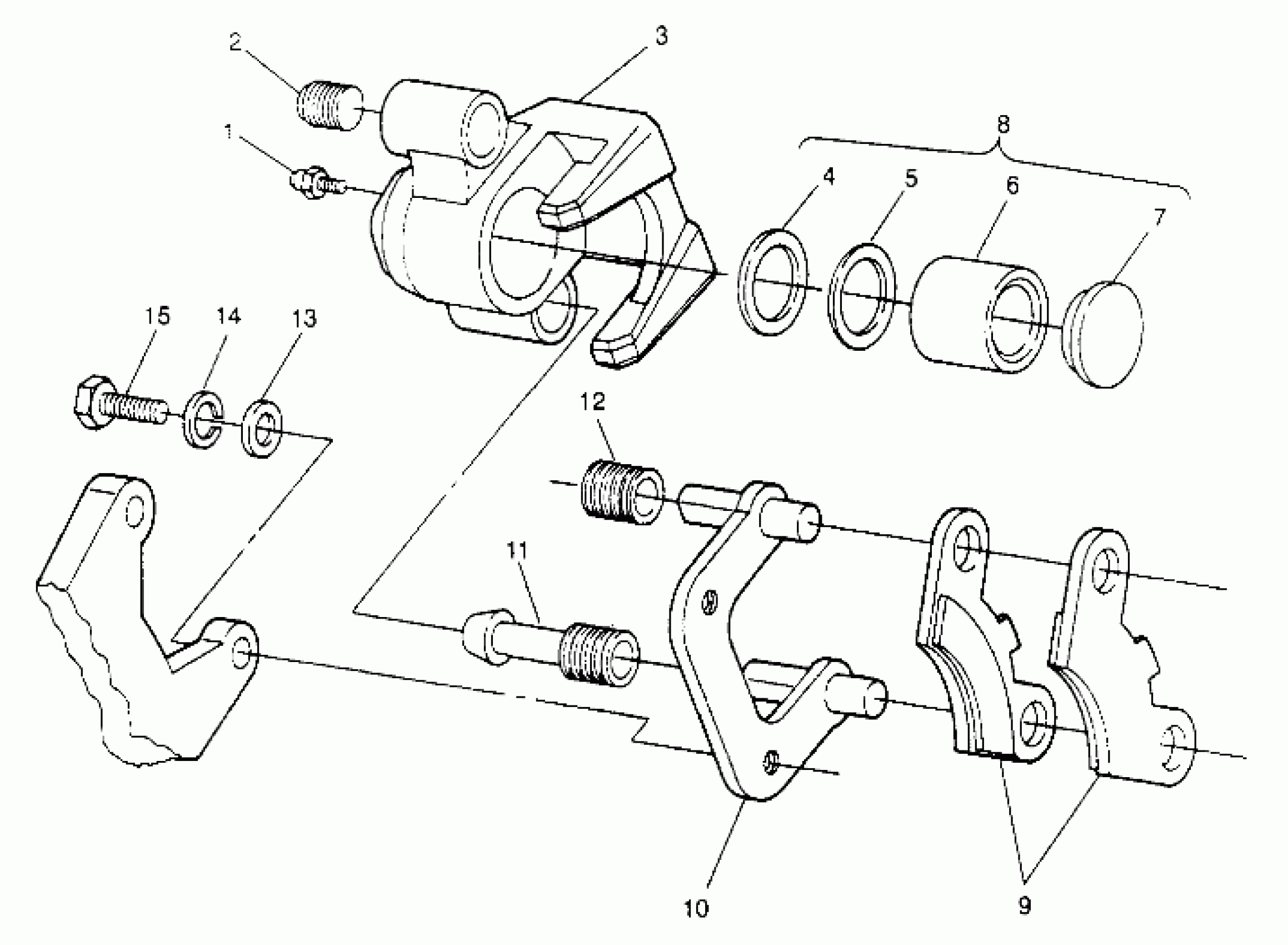
MIDDLE AXLE BRAKE ASSEMBLY 6x6 400L - U.S. W958740, SWEDISH S958740 and N (4930273027C004)
Polaris BIG BOSS 6X6 400L - W958740 MIDDLE AXLE BRAKE ASSEMBLY 6x6 400L - U.S. W958740, SWEDISH S958740 and N (4930273027C004) Diagram
#
Description
Price
-
CALIPER ASM,LH(MID-AXLE)
1930663
Unavailable
-
CALIPER ASM,RH(MIDAXLE)
1930664
Unavailable
3
CALIPER,LH,BRAKE,MACH. Substituted by 5131261
5131115
Unavailable
3
CALIPER,RH,BRAKE,MACH. Substituted by 5131262
5131116
Unavailable
6
PISTON, CALIPER Substituted by 5132294
5020506
Unavailable
10
MOUNT,CALIPER ASM.
1910037
Unavailable
11
Boot, Bushing
5410495
Unavailable
12
Boot, Pin Seal
5410494
Unavailable
