- Partiron
- OEM Parts
- Polaris
- ATV
- 1995
- BIG BOSS 6X6 400L - W958740
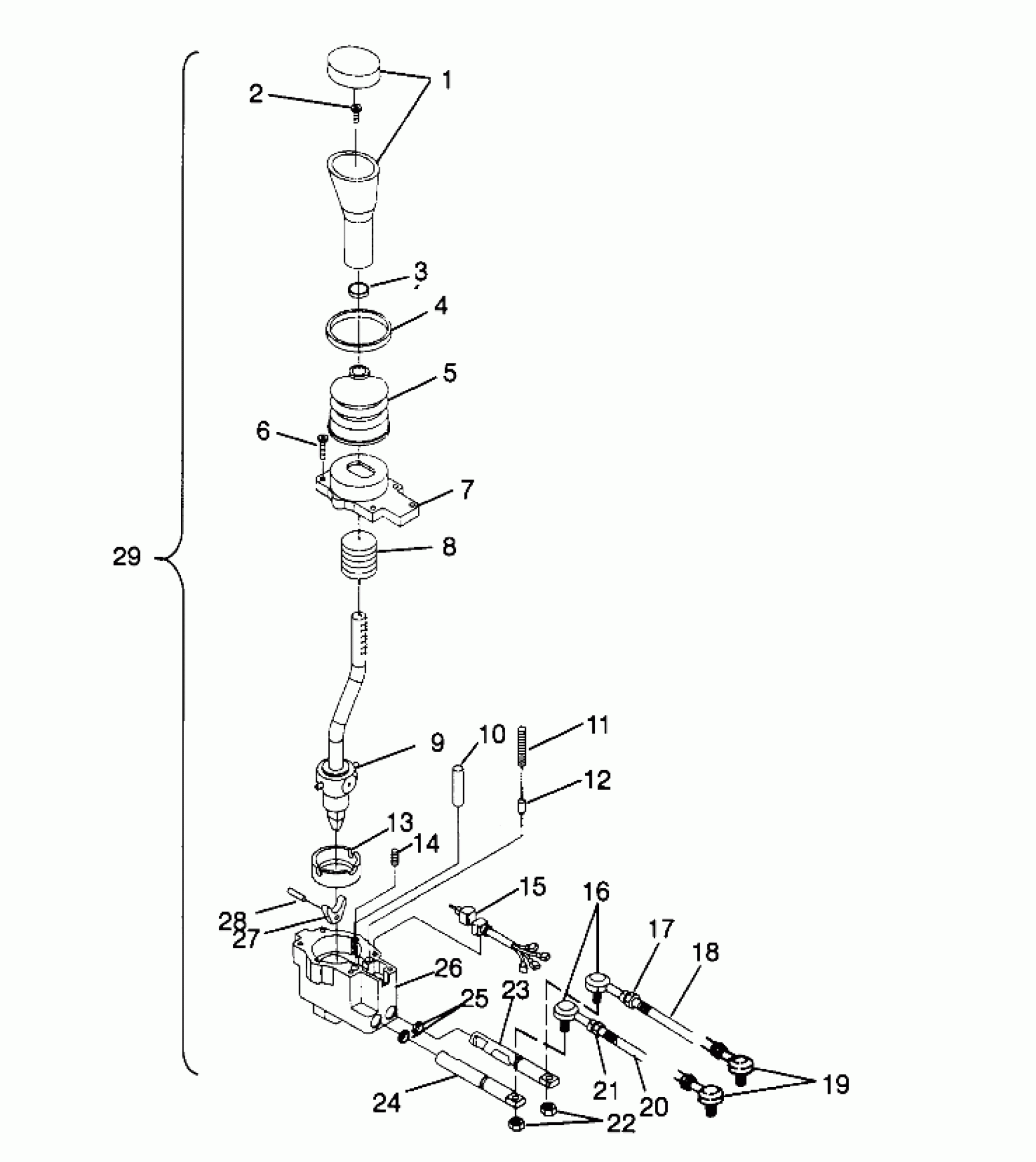
GEAR SELECTOR 6x6 400L, U.S. W958740, SWEDISH S958740 (4930273027D006)
Polaris BIG BOSS 6X6 400L - W958740 GEAR SELECTOR 6x6 400L, U.S. W958740, SWEDISH S958740 (4930273027D006) Diagram
#
Description
Price
4
CLAMP
3233132
Unavailable
6
SCREW Substituted by 3233498
3233085
Unavailable
7
COVER,GEARSELECT,5-BOLT
3233204
Unavailable
8
SPRING,HOLDING
3233158
Unavailable
9
HANDLE,(SUBASSEMBLY)
3233163
Unavailable
10
PIN, STOP
3233062
Unavailable
11
SPRING,DETENT
3233069
Unavailable
14
SPRING,CENTERING
3233083
Unavailable
18
ROD,HI-RA.SHIFTLINK
5020729
Unavailable
20
ROD,LOW-RA.SHIFTLINK
5020730
Unavailable
23
SLIDE,HIGH/REV.
3233088
Unavailable
24
SLIDE,LOW
3233089
Unavailable
26
BODY,GEARSELECT,5-BOLT Substituted by 3233343
3233205
Unavailable
27
INTERLOCK,BUTTERFLY
3233084
Unavailable
28
PIN,INTERLOCK
3233070
Unavailable
29
SELECTOR ASM,GEAR,400 Substituted by 1341180 (Incl. 1-15, 23-28) NOTE: Gear Selector Asm. Ref. 29, utilizes 5 cover bolts. Some units will utilize Gear Selector Asm., PN 1341126 using 4 cover bolts. O
1341164
Unavailable
