- Partiron
- OEM Parts
- Polaris
- ATV
- 1995
- BIG BOSS 6X6 400L - W958740
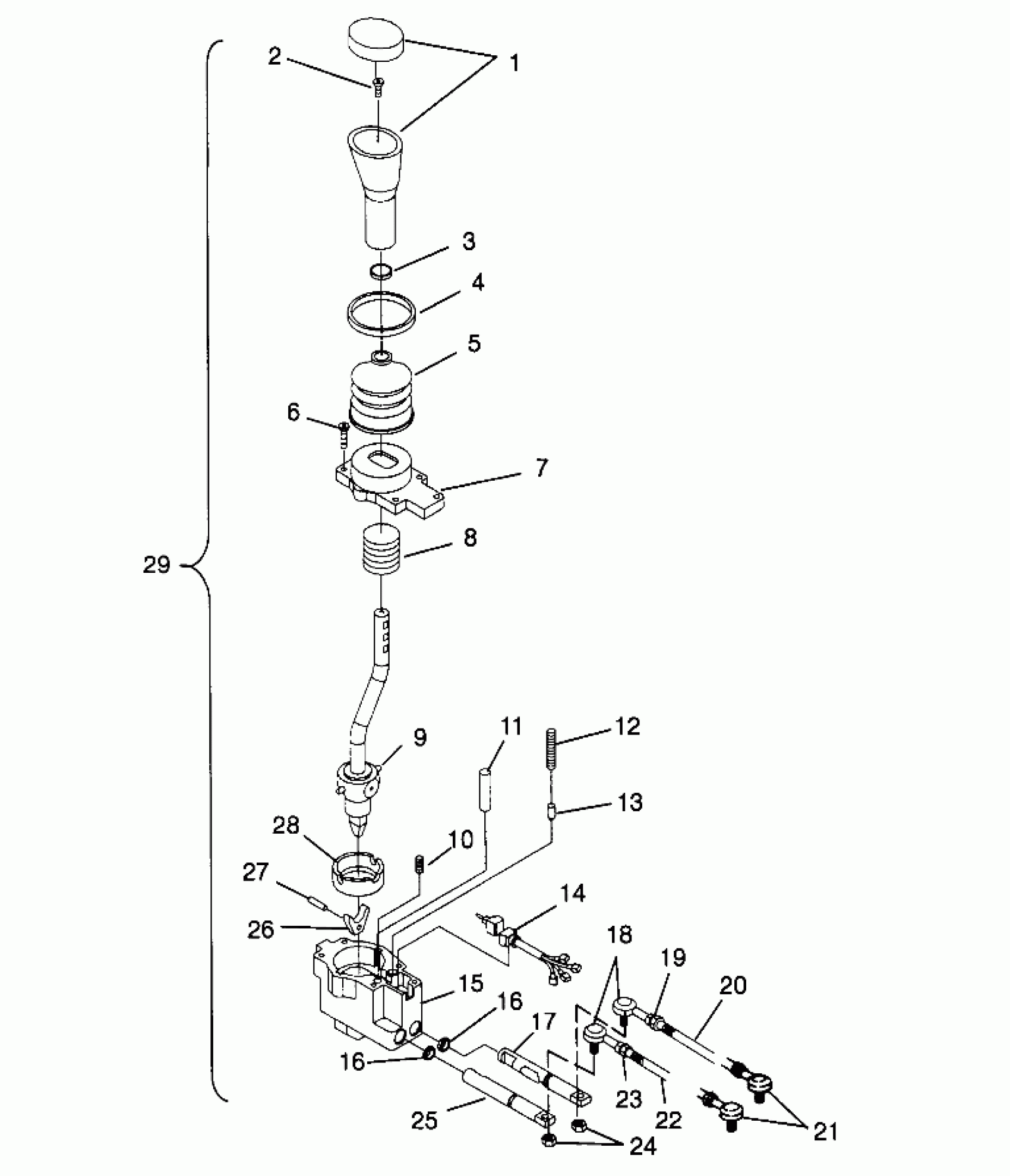
GEAR SELECTOR 6x6 400L NORWEGIAN N958740 (4930273027D009)
Polaris BIG BOSS 6X6 400L - W958740 GEAR SELECTOR 6x6 400L NORWEGIAN N958740 (4930273027D009) Diagram
#
Description
Price
4
CLAMP
3233132
Unavailable
7
COVER,GEARSELECT,5-BOLT
3233204
Unavailable
9
HANDLE,(SUBASSEMBLY)
3233163
Unavailable
10
SPRING,CENTERING
3233083
Unavailable
11
PIN, STOP
3233062
Unavailable
12
SPRING,DETENT
3233069
Unavailable
15
BODY,GEARSELECT,5-BOLT Substituted by 3233343
3233205
Unavailable
17
SLIDE,HIGH/REV.
3233088
Unavailable
20
ROD,LOW-RA.SHIFTLINK
5020730
Unavailable
22
ROD,HI-RA.SHIFTLINK
5020729
Unavailable
24
NUT(10) Substituted by 7546703
7546707
Unavailable
25
SLIDE,LOW
3233089
Unavailable
26
INTERLOCK,BUTTERFLY
3233084
Unavailable
27
PIN,INTERLOCK
3233070
Unavailable
