- Partiron
- OEM Parts
- Polaris
- ATV
- 1998
- BIG BOSS 500 6X6 - W98AE50A
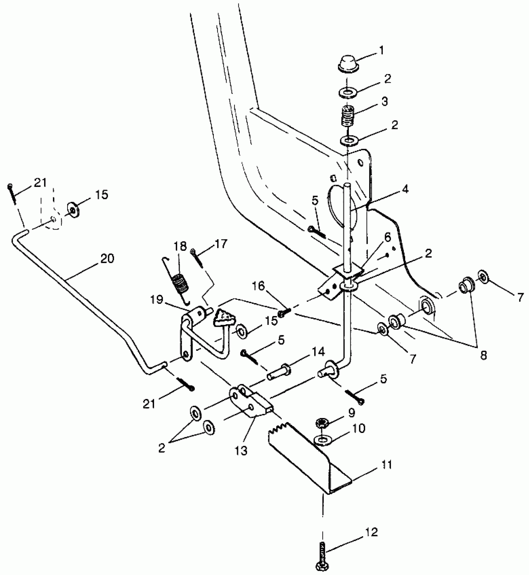
FOOT PEDAL and PARKING BRAKE - N98AE50D (4946394639c014)
Polaris BIG BOSS 500 6X6 - W98AE50A FOOT PEDAL and PARKING BRAKE - N98AE50D (4946394639c014) Diagram
#
Description
Price
-
BRAKELOCK ASM,(SWED),W/FOOT BRK. (Incl. 2-6,9,13,14)
1910154
Unavailable
1
PUSHNUT, RED(10)
7670063
Unavailable
3
SPRING
7041365
Unavailable
4
ROD,BRAKELOCK
5224548
Unavailable
6
STAND OFF
5240525
Unavailable
9
NUT(10)
7542124
Unavailable
11
CATCH
5240526
Unavailable
12
BOLT(10) Substituted by 7512269
7515101
Unavailable
13
FLIPPER
5240524
Unavailable
14
PIN, CLEVIS(10)
7661640
Unavailable
19
FOOTBRAKE,BLK.
1910144-067
Unavailable
