- Partiron
- OEM Parts
- Polaris
- ATV
- 1998
- BIG BOSS 500 6X6 - W98AE50A
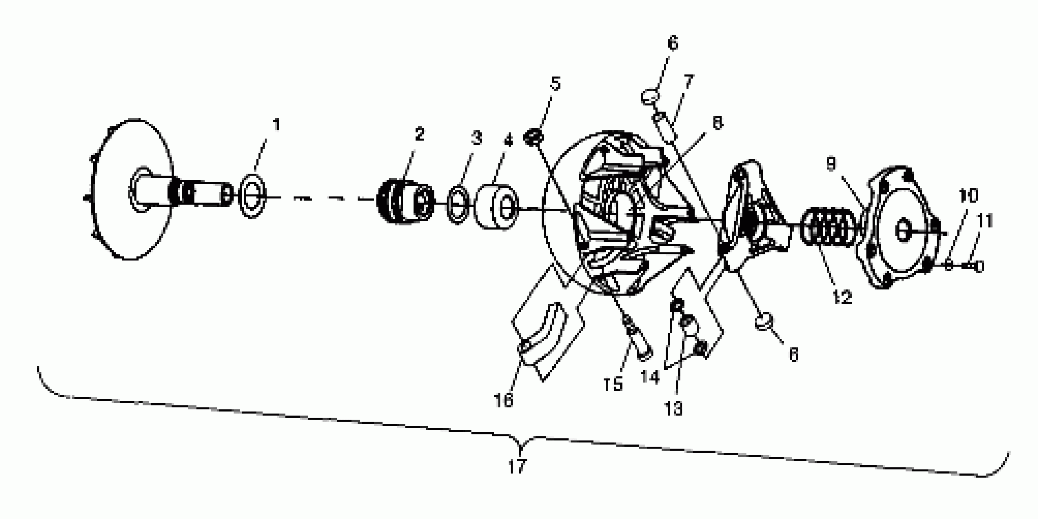
DRIVE CLUTCH - N98AE50D (4946394639c009)
Polaris BIG BOSS 500 6X6 - W98AE50A DRIVE CLUTCH - N98AE50D (4946394639c009) Diagram
#
Description
Price
4
SPACER Substituted by 5631119
5131646
Unavailable
6
BUTTON,CLUTCH
5431936
Unavailable
6
BUTTON,CLUTCH
5431936
Unavailable
11
BOLT(10) Substituted by 7512163
7512176
Unavailable
