Partiron

Polaris BIG BOSS 500 6X6 - W98AE50A CV JOINT - BTB - S98AE50E (4946394639b006) Diagram

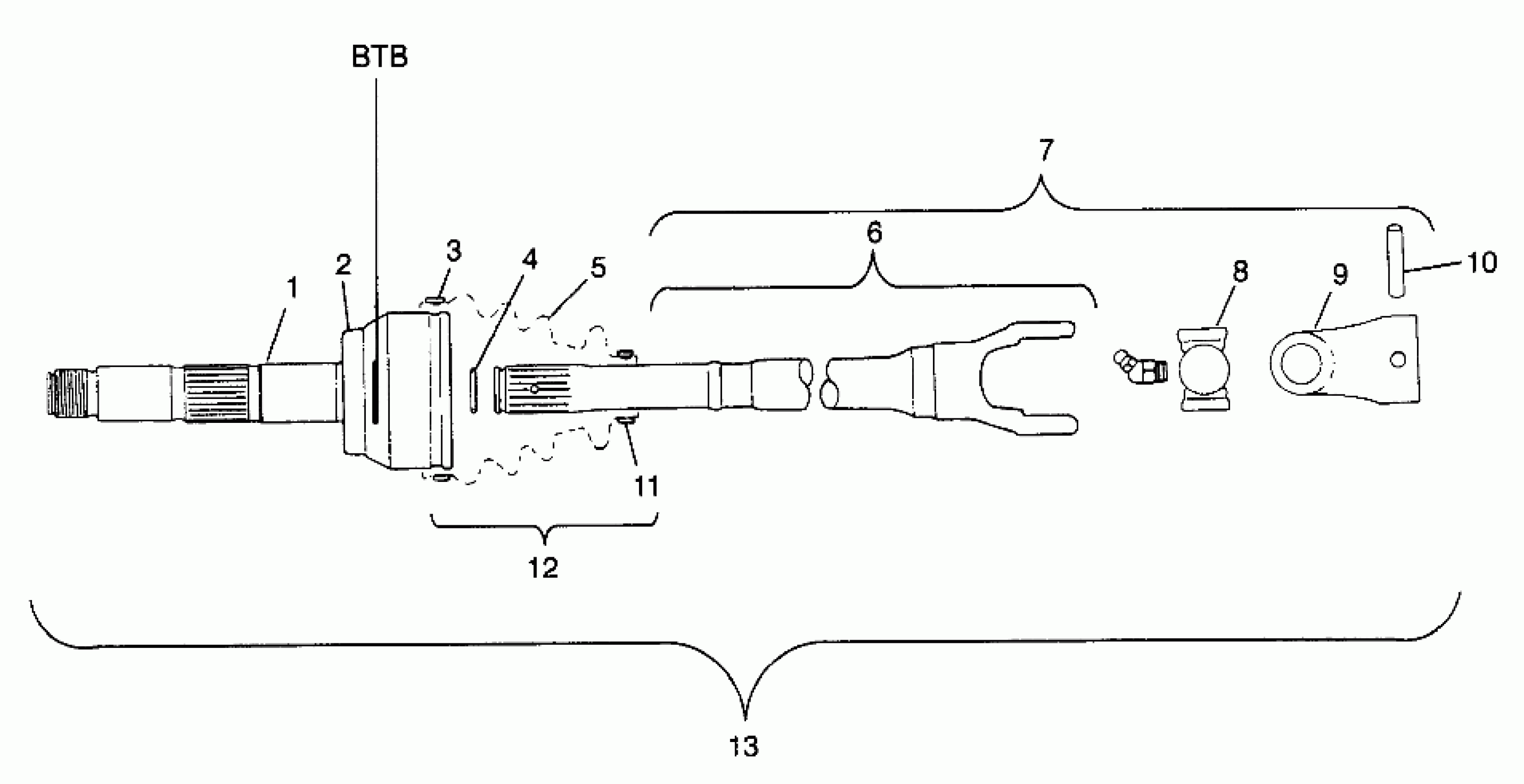
#

Description
Price

1

HSG.ASM,CV,BTB,W/SLV.

1380119

$354.99

2

Sleeve, Seal

5222299

$32.37

3

CLAMP, LARGE(10)

3260115

$9.99

4

CIRCLIP,DRIVESHAFT,BTB

7670091

Unavailable

5

Boot, CV Joint

5411106

Unavailable

6

SHAFT,LONG (Incl. 4)

1380094

$204.62

7

CARDON WELD,LONG (Incl. 4,6,8,9)

1380092

$204.62

8

KIT,CROSS&BEARING

2200771

Unavailable

9

Yoke, Splined

3260130

Unavailable

10

PIN-SPRING,5/16 X 1 5/8-Y

7661913

$3.99

11

CLAMP, BAND

7080627

Unavailable

12

KIT,BOOT,CV JOINT,BTB (Incl. 3,5,11)

2200773

Unavailable

13

KIT,DRIVESHAFT,W/SLV,BTB

2200961

$204.62