- Partiron
- OEM Parts
- Polaris
- ATV
- 1992
- BIG BOSS 4X6 - W928627
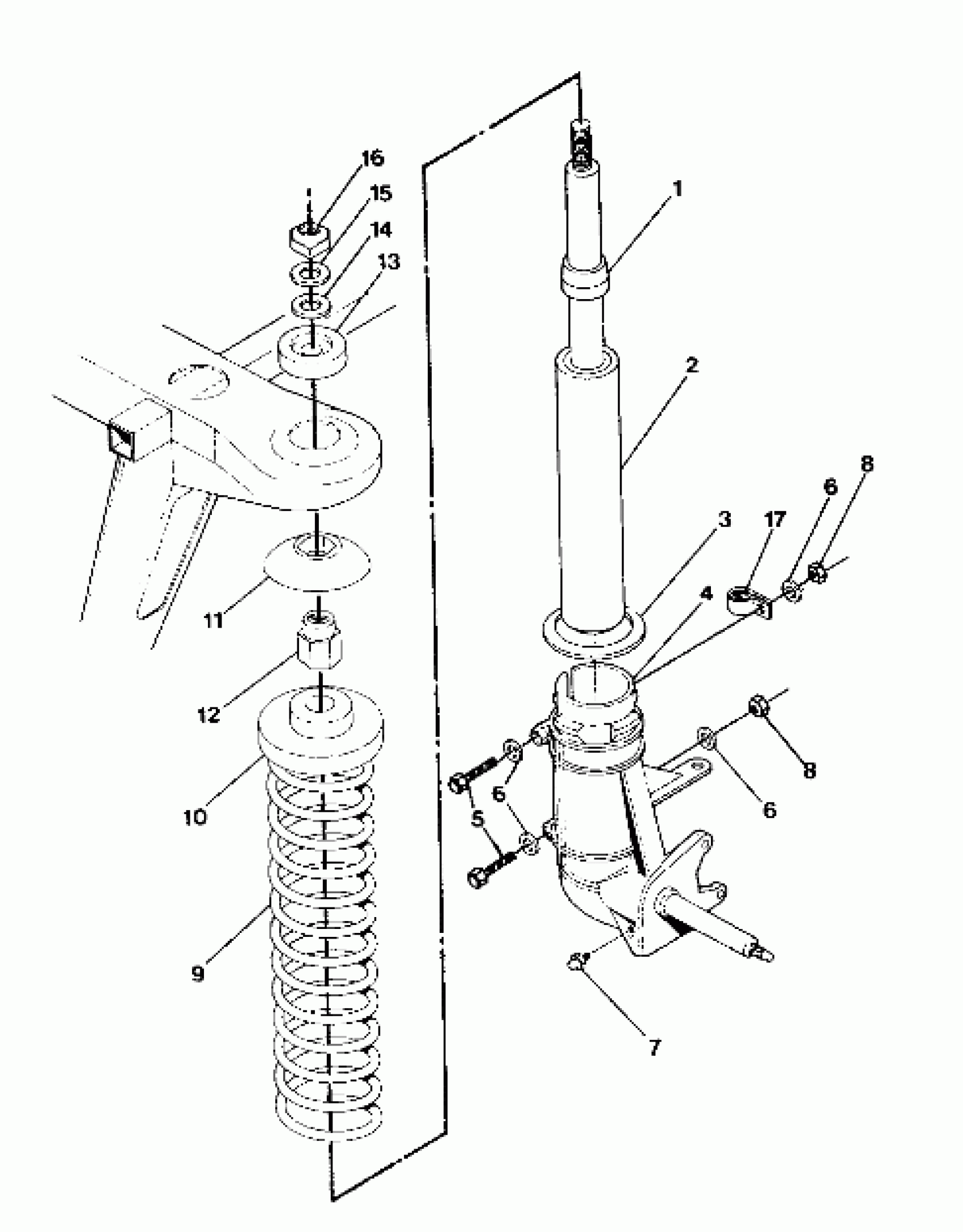
FRONT STRUT ASSEMBLY 250 4x6 / W928627 (4922902290010A)
Polaris BIG BOSS 4X6 - W928627 FRONT STRUT ASSEMBLY 250 4x6 / W928627 (4922902290010A) Diagram
#
Description
Price
1
BUMPER, RUBBER
5410429
Unavailable
2
SHOCK,FR.STRUT Substituted by 7041451
7041211
Unavailable
4
SUPPORT,LH STRUT
5130803
Unavailable
4
SUPPORT,RH STRUT
5130804
Unavailable
9
SPRING, STRUT
7041161-067
Unavailable
10
RETAINER,SPRING,TOP (Top)
5220602
Unavailable
11
PIVOT BALL,BOTTOM Substituted by 5432871
5430807
Unavailable
13
PIVOT BALL, TOP Substituted by 5432872
5430806
Unavailable
17
CLAMP(10) Substituted by 7080573
7080347
Unavailable
