Partiron

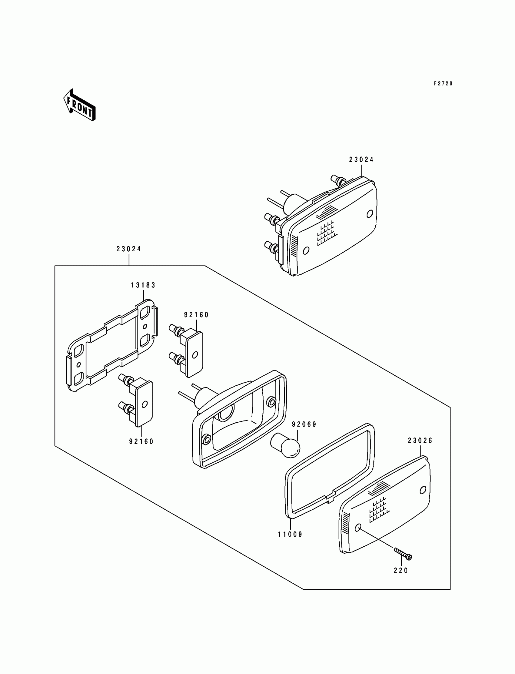
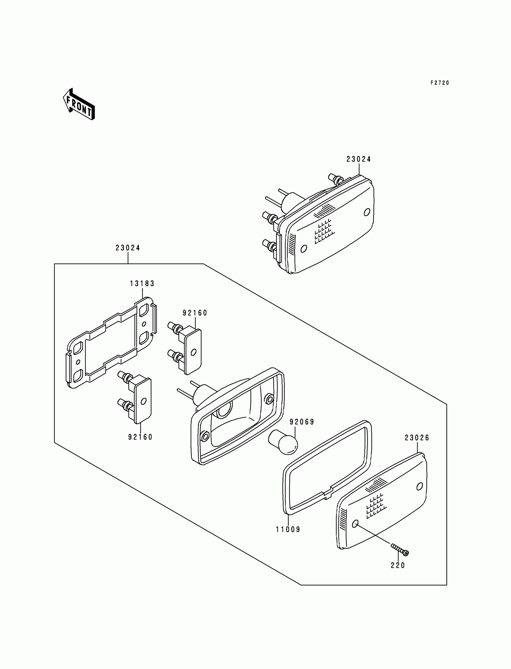
Kawasaki Bayou 400 4X4 Taillight(s) Diagram

#

Description
Price

11009

GASKET,TAIL LAMP

11009-4004

$7.61

13183

PLATE,TAIL LAMP

13183-1261

$20.04

23024

LAMP-ASSY-TAIL

23024-1118

Unavailable

23026

LENS,TAIL LAMP

23026-4003

$20.67

92069

BULB,12V 8W

92069-1012

$5.18

92160

DAMPER,TAIL LAMP

92160-1053

$8.86

220

SCREW-PAN-CROS

220B0420

$2.49