Partiron

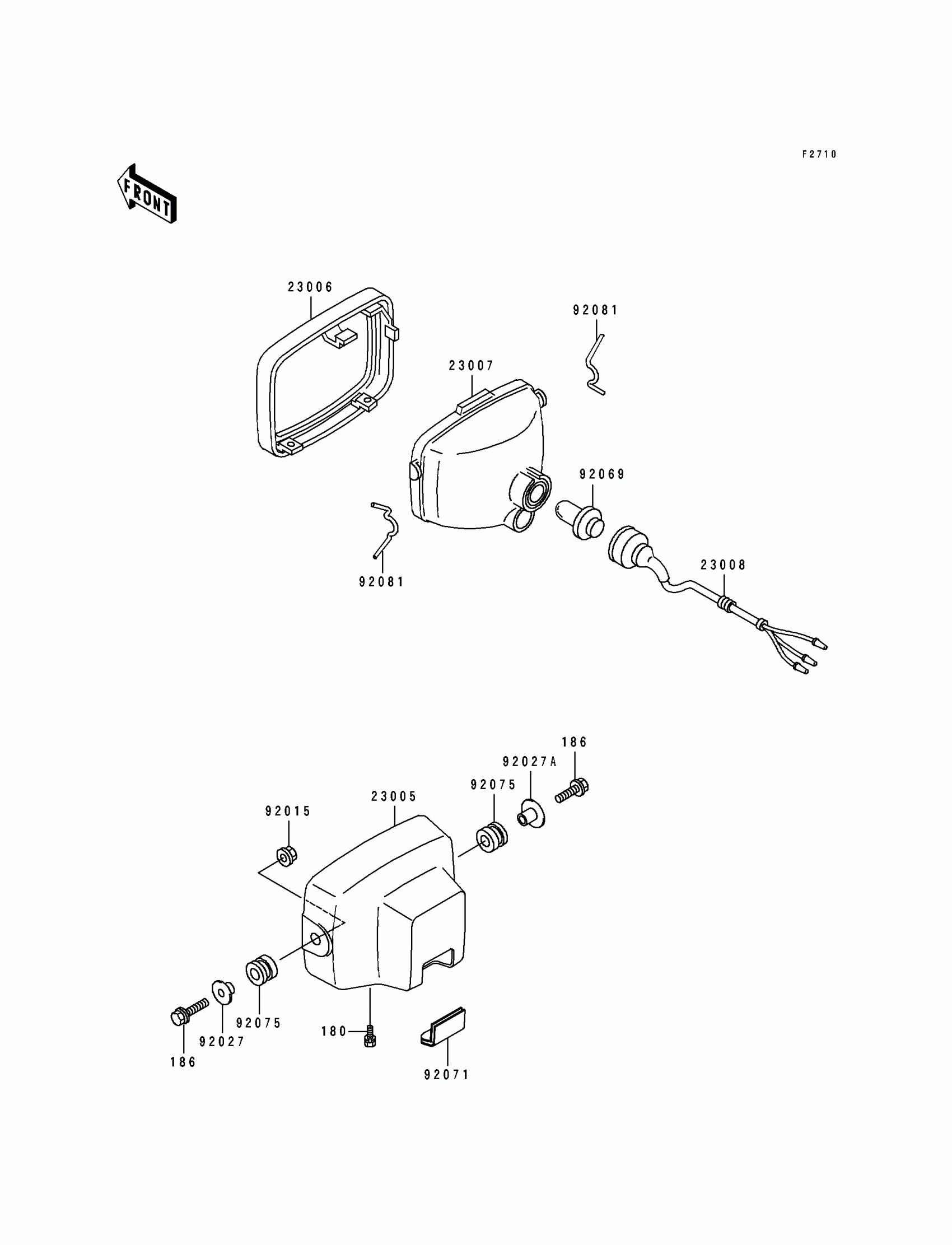
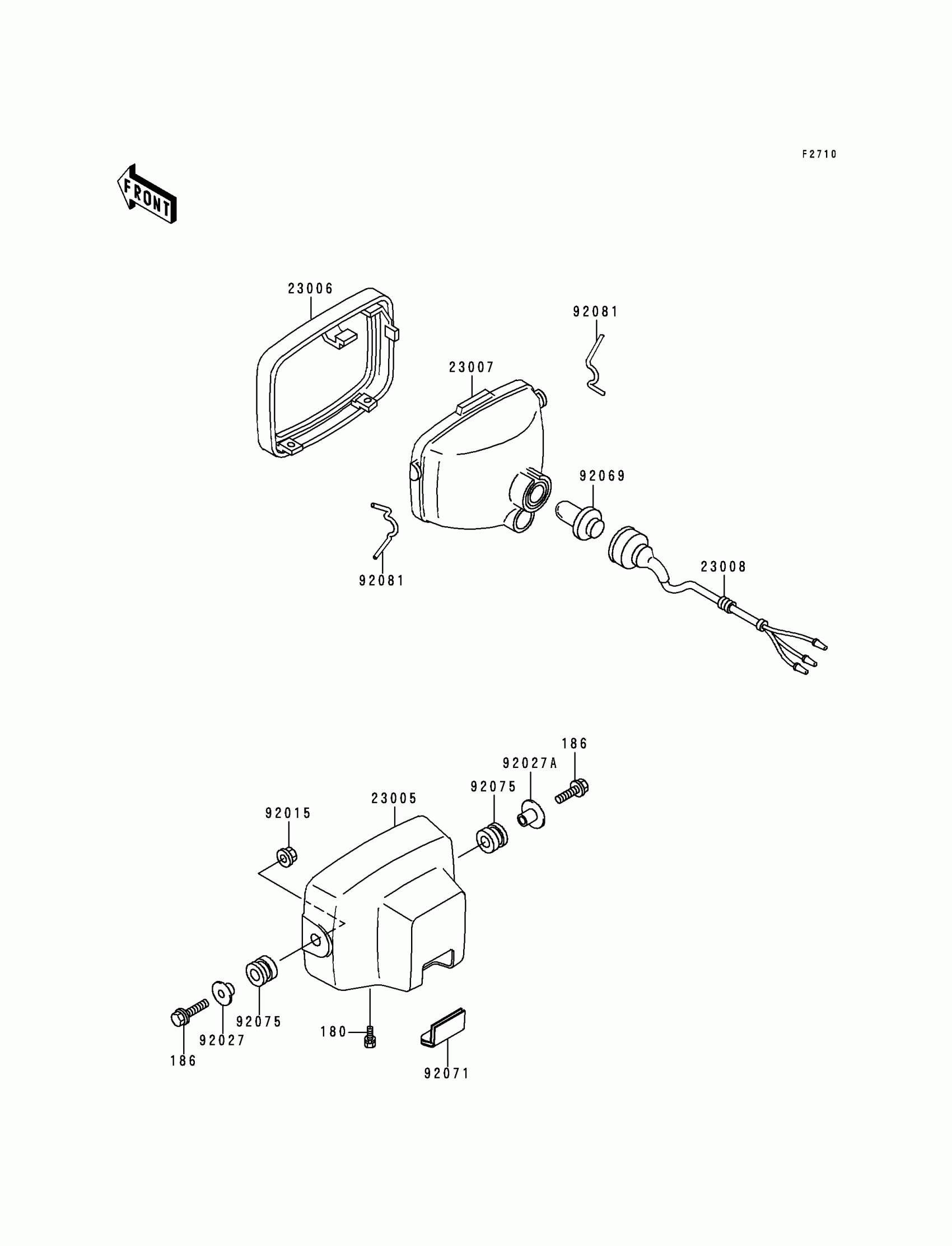
Kawasaki Bayou 400 4X4 Headlight(s) Diagram

#

Description
Price

23005

BODY-COMP-HEAD LAMP,BLACK

23005-1018-6Z

$81.94

23006

RIM-LAMP

23006-1058

$64.69

23007

LENS-COMP,HEAD LAMP

23007-1274

$47.74

23008

SOCKET-ASSY,HEAD LAMP

23008-1357

$44.35

92015

NUT,FLANGED,6MM

92015-1367

$3.69

92027

COLLAR

92027-1045

$5.52

92027A

COLLAR,L=13.1

92027-251

Unavailable

92069

BULB,12V 25/25W

92069-1010

$14.67

92071

GROMMET,HEAD LAMP

92071-1205

$8.96

92075

DAMPER

92075-277

$2.84

92081

SPRING

92081-1421

$5.40

180

BOLT-UPSET-WS

180C0512

$3.20

186

BOLT-UPSET-WP

186B0630

$0.93