Partiron

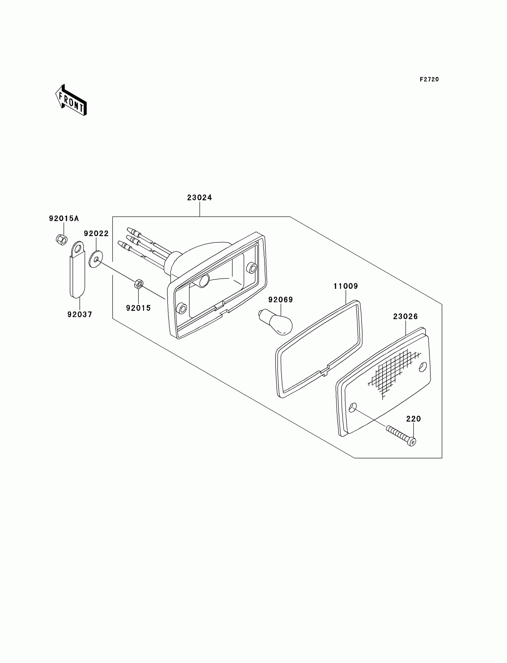
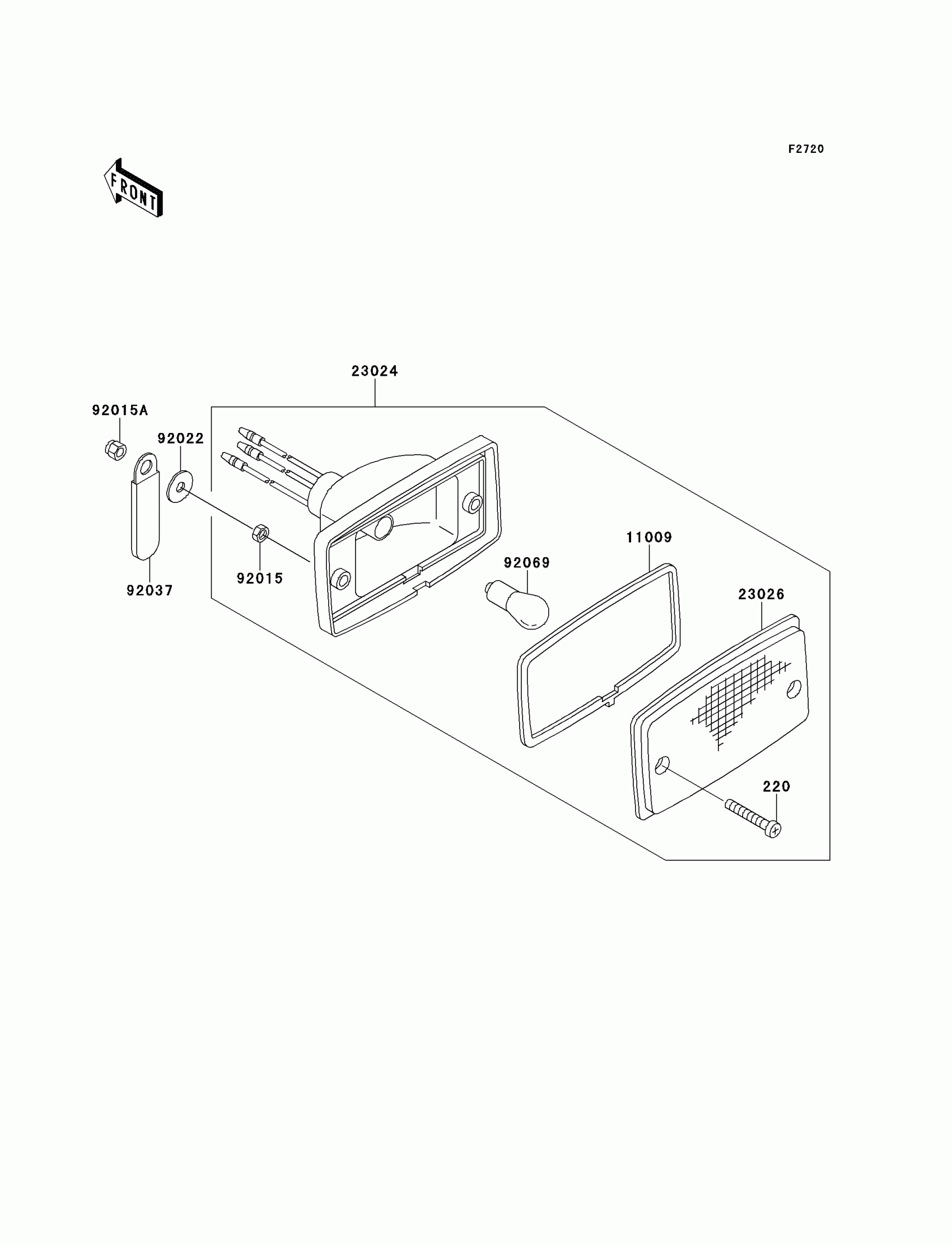
Kawasaki Bayou 250 Taillight(s) Diagram

#

Description
Price

220

SCREW PAN HEAD 4X25

220B0425

$0.99

11009

GASKET,TAIL LAMP

11009-4004

$7.61

23024

LAMP-ASSY-TAIL

23024-1139

$121.87

23026

LENS,TAIL LAMP

23026-1239

$17.69

92015

NUT,4MM

92015-1550

$3.35

92015A

NUT

92015-1695

$4.60

92022

WASHER,4.5X14X0.6

92022-1681

$4.60

92037

CLAMP,L=45

92037-1539

$5.00

92069

BULB,12V 27/8W

92069-059

$8.12