Partiron

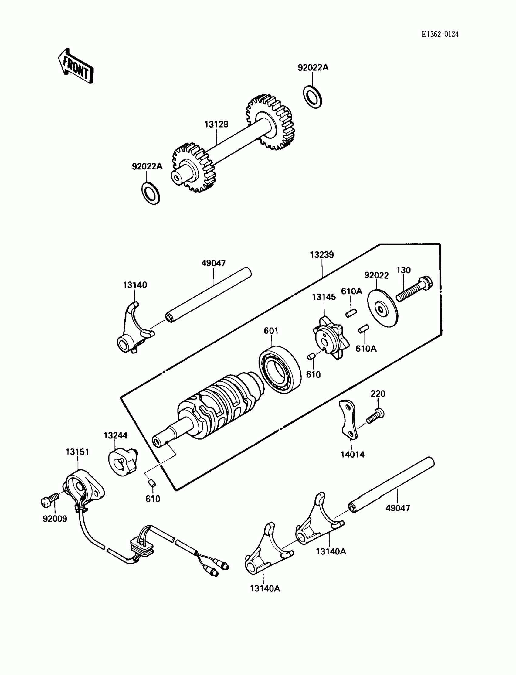
Kawasaki Bayou 220 Change Drum/Shift Fork Diagram

#

Description
Price

130

BOLT-FLANGED,6X35

130G0635

$0.93

220

SCREW-PAN-CROS,6X14

220B0614

$1.48

601

BEARING-BALL,#6005C3

601B6005

$16.92

610

ROLLER,4X6

610A0406

$4.31

610A

ROLLER,4X12

610A0412

$5.52

13129

GEAR,REVERSE,22T&27T

13129-1870

$222.02

13140

FORK-SHIFT

13140-1161

$90.37

13140A

FORK-SHIFT

13140-1162

$90.37

13145

CAM-CHANGE DRUM

13145-1064

$47.03

13151

SWITCH-COMP,NEUTRAL

13151-1067

$75.50

13239

DRUM-ASSY-CHANGE

13239-1145

$136.01

13244

STOPPER-ASSY,REVERSE

13244-1053

Unavailable

14014

PLATE-POSITION

14014-1087

$6.16

49047

ROD-SHIFT

49047-1073

$25.03

92009

SCREW,5X14

92009-1341

$4.18

92022

WASHER,CHANGE DRUM

92022-1886

$8.80

92022A

WASHER,THRUST,15MM

92022-279

$10.56