- Partiron
- OEM Parts
- Honda
- ALL-TERRAIN VEHICLE
- Models With No Year
- ATC90K2A ALL-TERRAIN, JPN, VIN# ATC90-1300001
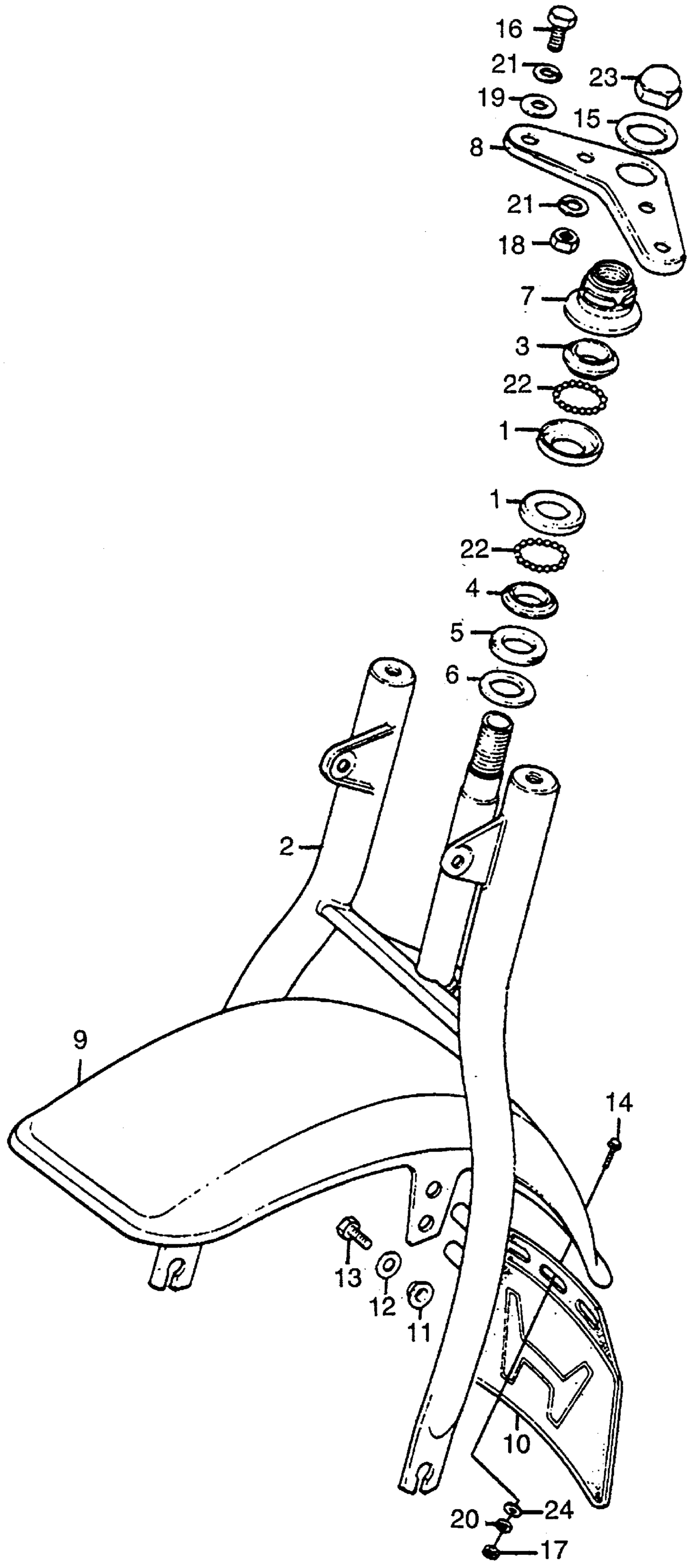
FRONT FORK + FRONT FENDER K2
Honda ATC90K2A ALL-TERRAIN, JPN, VIN# ATC90-1300001 FRONT FORK + FRONT FENDER K2 Diagram
#
Description
Price
NI
SPLASH GUARD SET (NOT AVAILABLE)
80110-942-810
Unavailable
2
FORK, FR. *R18* (DAYTONA ORANGE)
51400-942-010BB
Unavailable
8
PLATE, FORK TOP BRIDGE *NH42MC* (CUSTOM SILVER) (NOT AVAILABLE)
53231-937-000NQ
Unavailable
9
FENDER, FR. *R18* (DAYTONA ORANGE) (NOT AVAILABLE) This part replaces 61100-942-000BB.
61100-942-305BB
Unavailable
9
FENDER, FR. *R18* (DAYTONA ORANGE) (NOT AVAILABLE)
61100-942-305BB
Unavailable
10
SPLASH GUARD, FR. (NOT AVAILABLE)
61111-942-000
Unavailable
10
SPLASH GUARD, FR. This part replaces 61111-942-810.
61111-942-000
Unavailable
14
SCREW (4X12)
90164-357-000
Unavailable
16
BOLT, HEX. (10X20) (SOURCE: VINTAGE PARTS INC.) This part replaces 92000-10020-0A.
92101-10020-0A
Unavailable
16
BOLT, HEX. (10X20) (SOURCE: VINTAGE PARTS INC.)
92101-10020-0A
Unavailable
24
WASHER, SPECIAL (4MM) (NOT AVAILABLE)
90555-357-000
Unavailable
