- Partiron
- OEM Parts
- Honda
- ALL-TERRAIN VEHICLE
- 1983
- ATC200EA (83) BIG RED, JPN, VIN# JH3TB051-DC203548
RECOIL STARTER
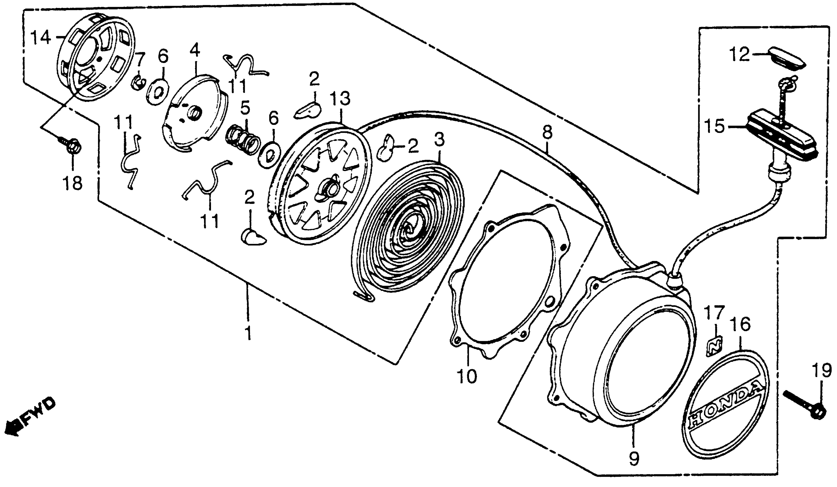
Honda ATC200EA (83) BIG RED, JPN, VIN# JH3TB051-DC203548 RECOIL STARTER Diagram
#
Description
Price
1
STARTER ASSY., RECOIL (NOT AVAILABLE)
28400-958-682
Unavailable
2
RATCHET, STARTER
28401-918-000
Unavailable
3
SPRING, RECOIL STARTER
28402-918-000
Unavailable
4
PLATE, FRICTION
28403-918-000
Unavailable
5
SPRING, FRICTION
28404-918-000
Unavailable
6
WASHER, FRICTION
28405-943-004
Unavailable
7
E-RING
28406-918-000
Unavailable
8
ROPE, RECOIL STARTER
28407-958-004
Unavailable
9
CASE, RECOIL STARTER
28410-958-681
Unavailable
10
GASKET, RECOIL STARTER (AS)
28411-958-307
Unavailable
10
GASKET, RECOIL STARTER (AS) This part replaces 28411-958-680.
28411-958-307
Unavailable
12
CAP, KNOB
28414-958-004
Unavailable
13
PULLEY, RECOIL STARTER (NOT AVAILABLE)
28420-958-680
Unavailable
14
PULLEY, RECOIL
28431-958-680
Unavailable
15
KNOB, STARTER
28461-958-003
Unavailable
16
EMBLEM, RECOIL STARTER (NOT AVAILABLE)
87101-958-680
Unavailable
17
LABEL, NEUTRAL (NOT AVAILABLE)
87105-958-680
Unavailable
