- Partiron
- OEM Parts
- Honda
- ALL-TERRAIN VEHICLE
- 1983
- ATC185SA (83) ALL TERRAIN CYCLE, JPN, VIN# JH3TB010-DC300013
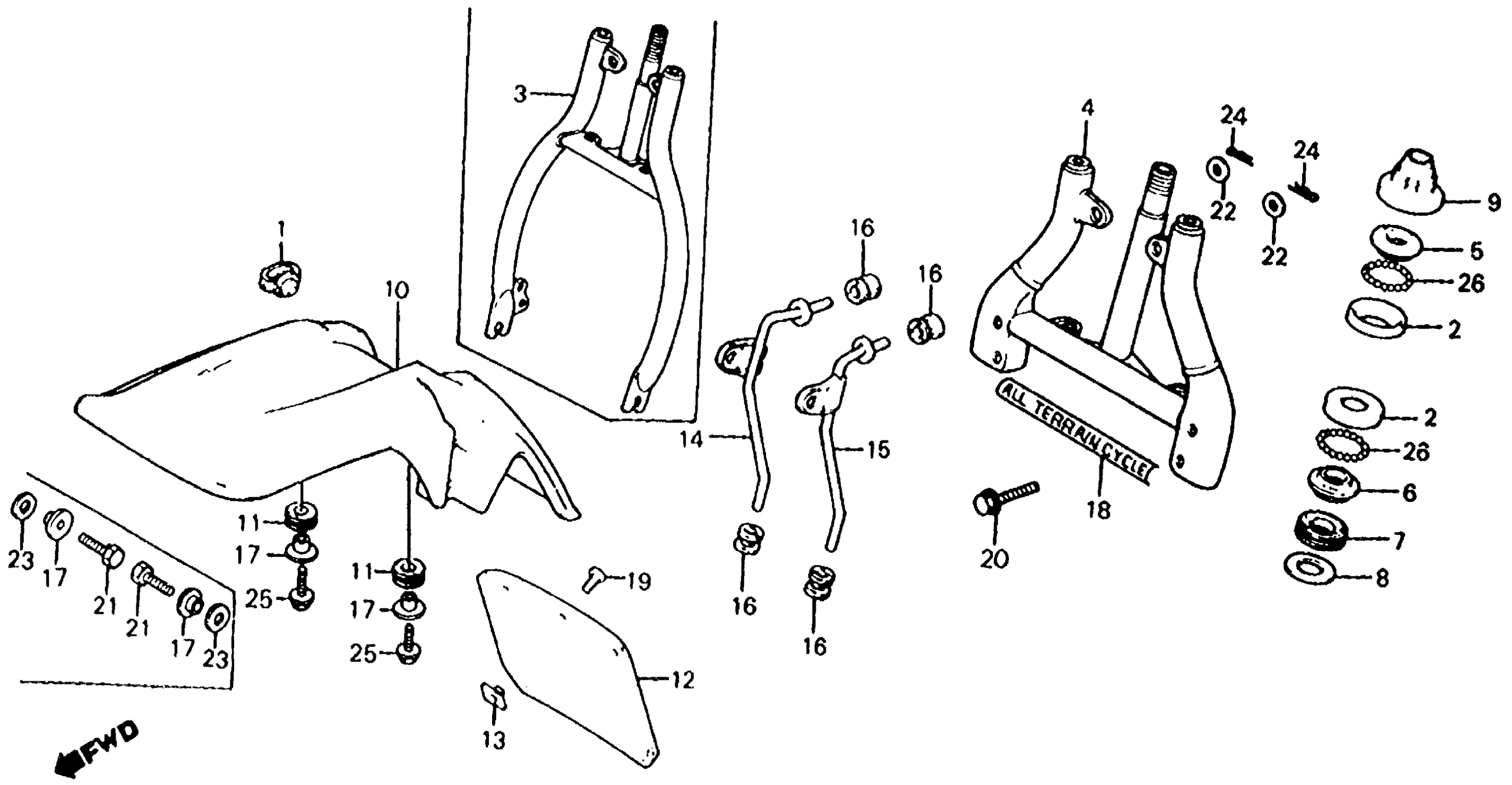
FRONT FORK + FRONT FENDER
Honda ATC185SA (83) ALL TERRAIN CYCLE, JPN, VIN# JH3TB010-DC300013 FRONT FORK + FRONT FENDER Diagram
#
Description
Price
4
STEM, STEERING (NOT AVAILABLE) This part replaces 53200-958-670.
53200-958-671
Unavailable
4
STEM, STEERING (NOT AVAILABLE)
53200-958-671
Unavailable
10
FENDER, FR. (NOT AVAILABLE)
61100-958-671
Unavailable
12
SPLASH GUARD, FR. (NOT AVAILABLE)
61111-VM4-000
Unavailable
12
SPLASH GUARD, FR. (NOT AVAILABLE) This part replaces 61111-943-000.
61111-VM4-000
Unavailable
14
BRACKET, R. HEADLIGHT CASE (NOT AVAILABLE)
61311-VM4-680
Unavailable
14
BRACKET, R. HEADLIGHT CASE (NOT AVAILABLE) This part replaces 61311-958-671.
61311-VM4-680
Unavailable
15
BRACKET, L. HEADLIGHT CASE (NOT AVAILABLE) This part replaces 61312-958-671.
61312-VM4-680
Unavailable
16
RUBBER, HEADLIGHT MOUNTING (NOT AVAILABLE)
61315-958-000
Unavailable
18
EMBLEM, FR. FORK (NOT AVAILABLE)
87102-958-010
Unavailable
19
SCREW, TORUS (6X7)
90102-673-003
Unavailable
20
BOLT, FLANGE (10X35) This part replaces 90118-958-000.
90118-KG8-900
Unavailable
