- Partiron
- OEM Parts
- Honda
- ALL-TERRAIN VEHICLE
- 1982
- ATC110A (82) ALL TERRAIN CYCLE, JPN, VIN# JH3TB020-CC300001 TO JH3TB020-CC352101
AIR CLEANER 82
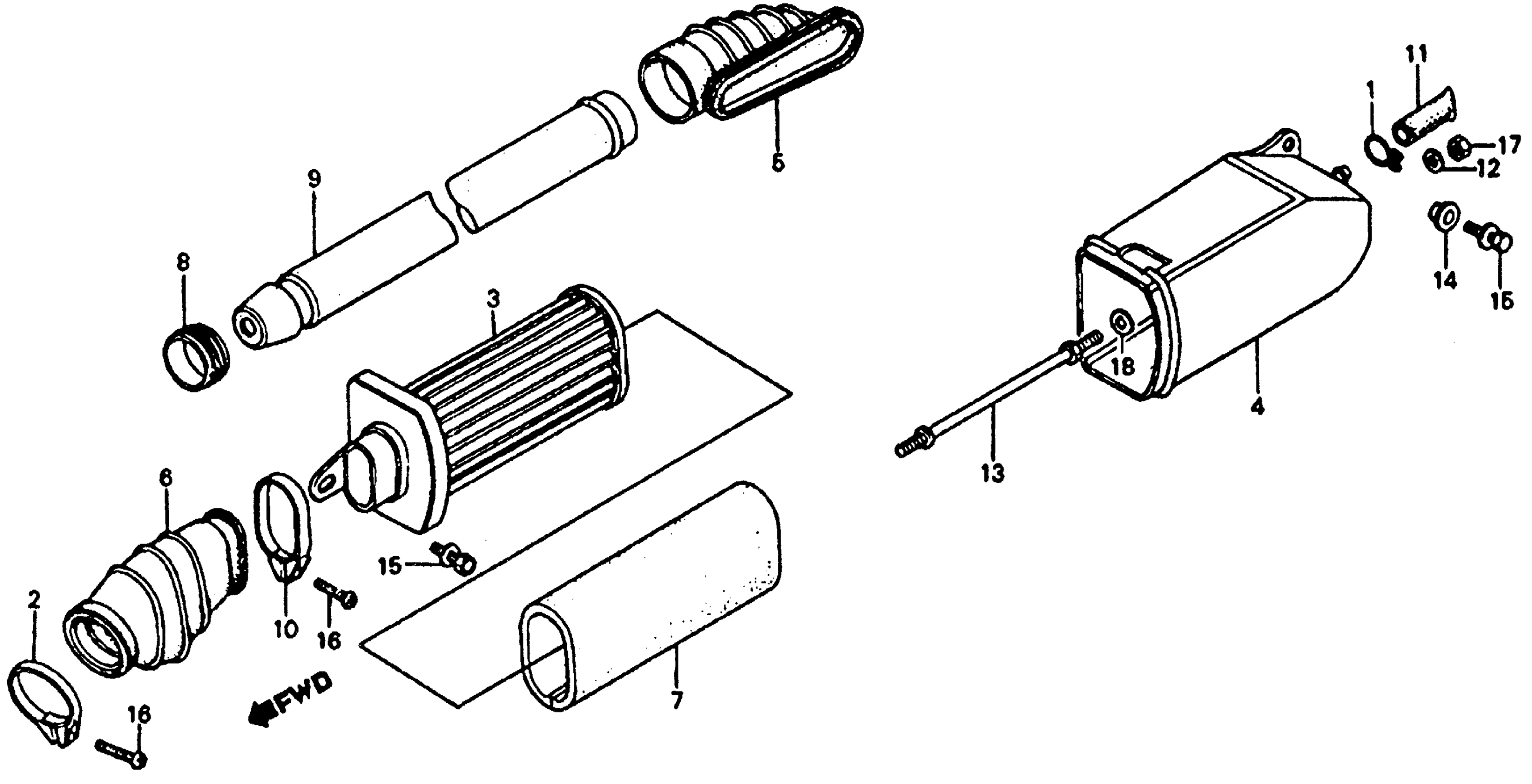
Honda ATC110A (82) ALL TERRAIN CYCLE, JPN, VIN# JH3TB020-CC300001 TO JH3TB020-CC352101 AIR CLEANER 82 Diagram
#
Description
Price
3
BODY, AIR CLEANER (NOT AVAILABLE)
17210-943-013
Unavailable
4
HOUSING, AIR CLEANER (NOT AVAILABLE)
17231-943-020
Unavailable
5
TUBE, AIR CLEANER IN.
17251-943-020
Unavailable
6
TUBE, AIR CLEANER CONNECTING (NOT AVAILABLE)
17253-943-000
Unavailable
7
FILTER (OUTER)
17254-943-003
Unavailable
8
CUSHION, AIR CLEANER DUCT (NOT AVAILABLE)
17258-943-000
Unavailable
9
DUCT, AIR CLEANER (NOT AVAILABLE)
17259-943-000
Unavailable
10
BAND, AIR CLEANER CONNECTING TUBE (NOT AVAILABLE)
17358-387-000
Unavailable
11
TUBE, DRAIN (NOT AVAILABLE)
17358-943-000
Unavailable
12
SEAT, REFLECTOR (NOT AVAILABLE)
51421-918-670
Unavailable
13
BOLT, AIR CLEANER HOUSING (NOT AVAILABLE)
90106-943-000
Unavailable
