Partiron

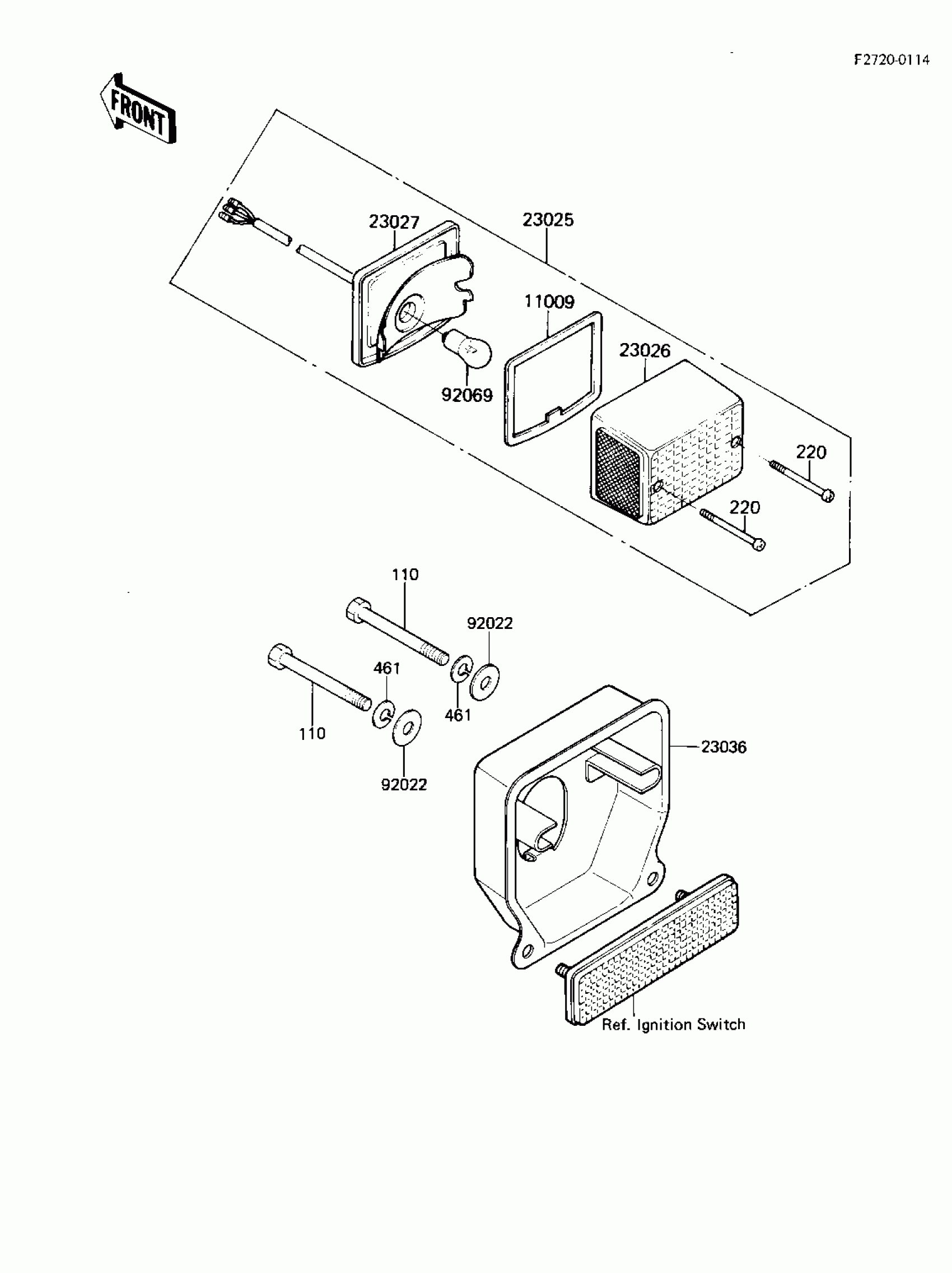
Kawasaki AR50-A1 TAILLIGHT Diagram

#

Description
Price

11009

GASKET,TAIL LAMP LENS

11009-1078

$7.55

23025

LAMP-TAIL

23025-1032

Unavailable

23026

LENS,TAIL LAMP

23026-1003

$56.61

23027

BODY-COMP-TAIL LAMP

23027-1020

$94.43

23036

BRACKET-TAIL LAMP

23036-1049

$27.08

92022

WASHER PLAIN

92022-024

$3.65

92069

BULB,6V 32/3CP

92069-074

$5.75

110

BOLT,HEX HEAD,6X50

110G0650

$3.00

220

SCREW-PAN-CROS,4X40

220R0440

$6.02

461

WASHER SPRING 6MM

461F0600

$0.69