- Partiron
- OEM Parts
- Suzuki
- Motorcycle
- 2015
- AN650L5 (2015)
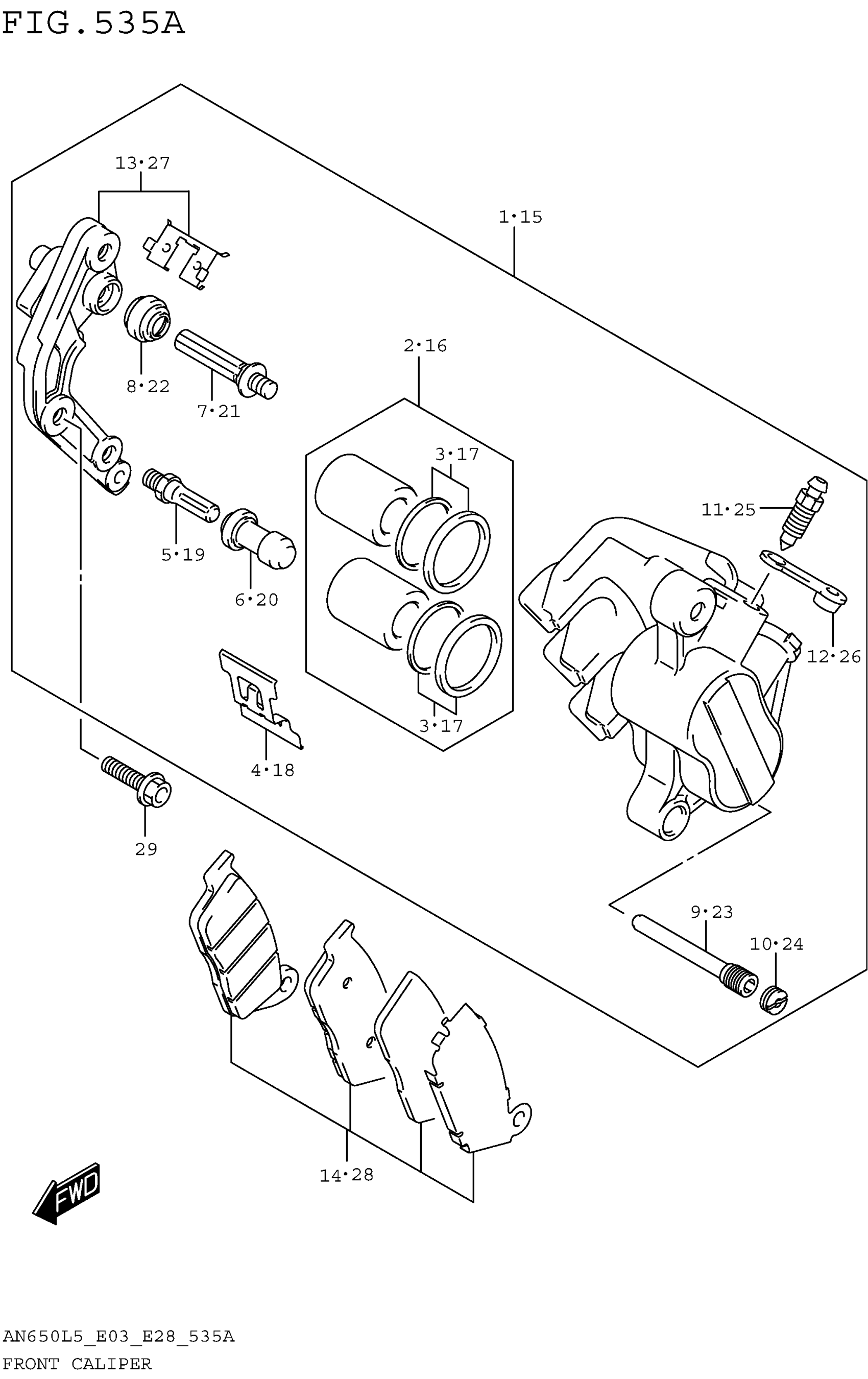
FRONT CALIPER
Suzuki AN650L5 (2015) FRONT CALIPER Diagram
#
Description
Price
1
CALIPER ASSY, FRONT RH
59100-26J10-999
Unavailable
13
BRACKET RH
59151-26J10
Unavailable
27
BRACKET LH
59351-26J10
Unavailable
