- Partiron
- OEM Parts
- Suzuki
- Motorcycle
- 2014
- AN650L4 (2014)
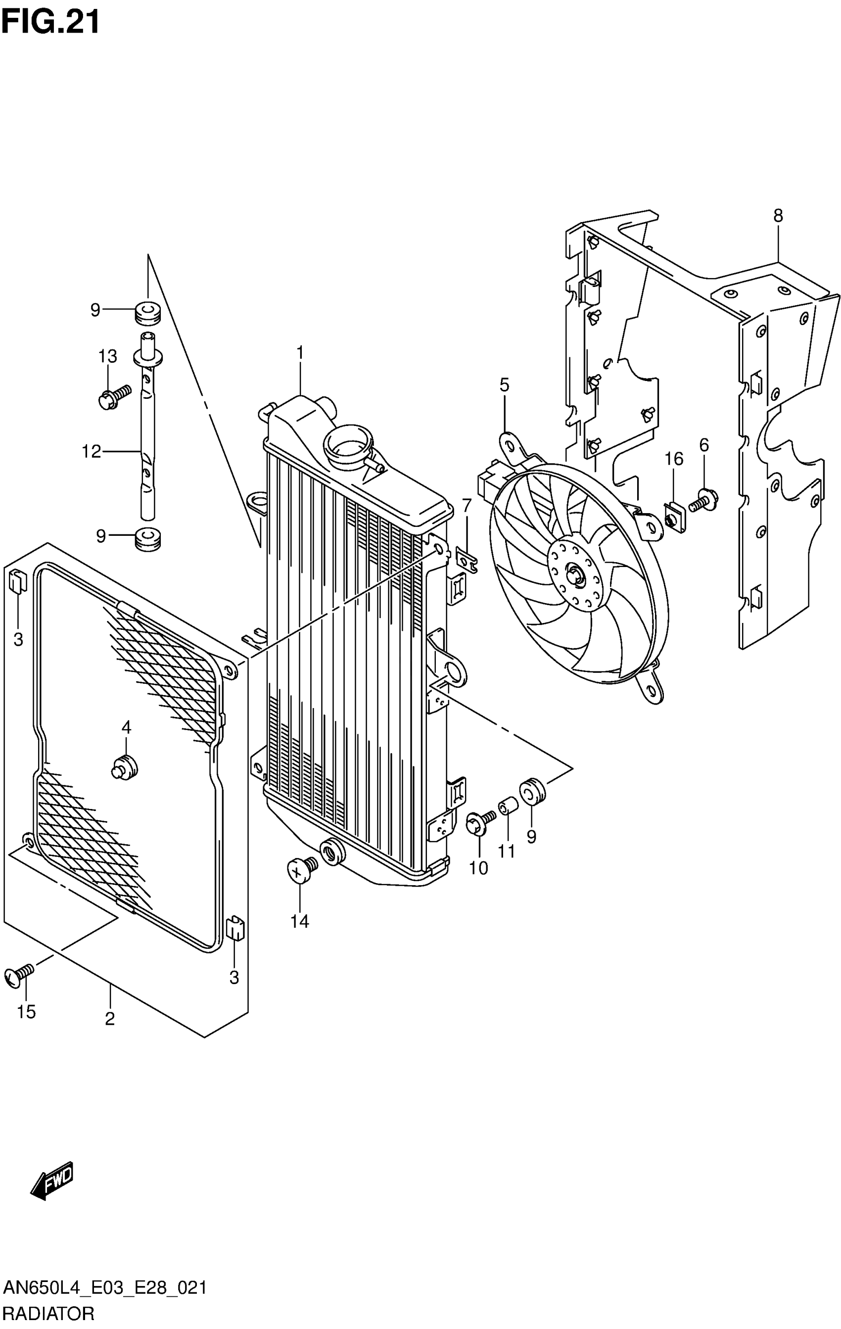
RADIATOR
Suzuki AN650L4 (2014) RADIATOR Diagram
#
Description
Price
4
CUSHION, RADIATOR GUARD
17768-33410
Unavailable
8
SHIELD, RADIATOR HEAT
17760-26J00
Unavailable
12
BRACKET, RADIATOR
17740-10G00
Unavailable
