Partiron

Suzuki AN650L3 (2013) REAR VIEW MIRROR Diagram

#

Description
Price

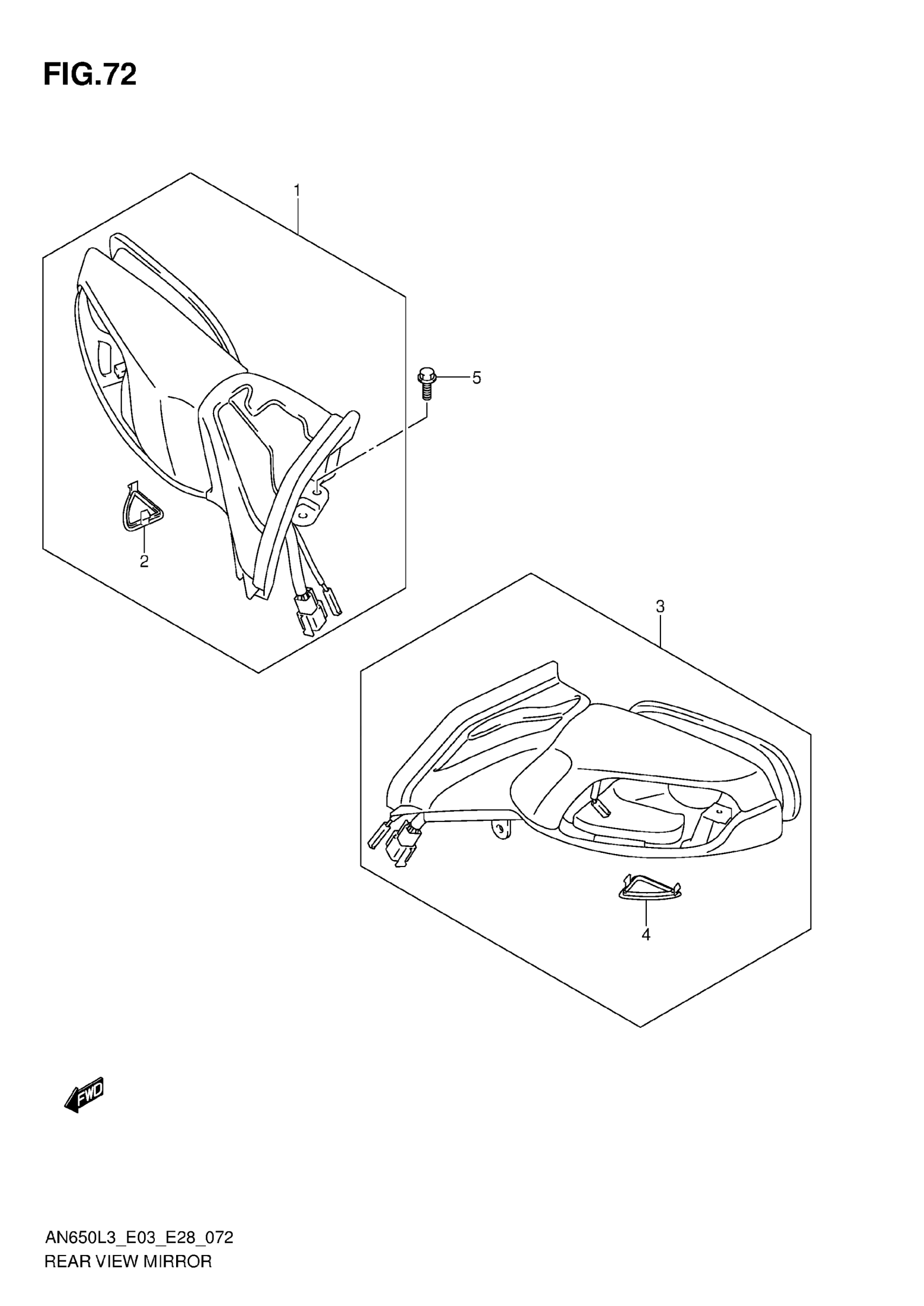
1

MIRROR ASSY, REAR VIEW RH (GRAY)

56500-26J00-PGZ

Unavailable

1

MIRROR ASSY,REA This part replaces 56500-26J00-RB5.

56500-26J04-RB5

$313.97

1

MIRROR ASSY, REAR VIEW RH (BLACK)

56500-26J00-YVB

Unavailable

2

CAP

56581-26J00

Unavailable

3

MIRROR ASSY, REAR VIEW LH (GRAY)

56600-26J00-PGZ

Unavailable

3

MIRROR ASSY,REA This part replaces 56600-26J00-RB5.

56600-26J04-RB5

$255.38

3

MIRROR ASSY, REAR VIEW RH (BLACK)

56600-26J00-YVB

Unavailable

4

CAP

56581-26J00

Unavailable

5

BOLT

01550-0616A

$1.97