- Partiron
- OEM Parts
- Suzuki
- Motorcycle
- 2013
- AN650L3 (2013)
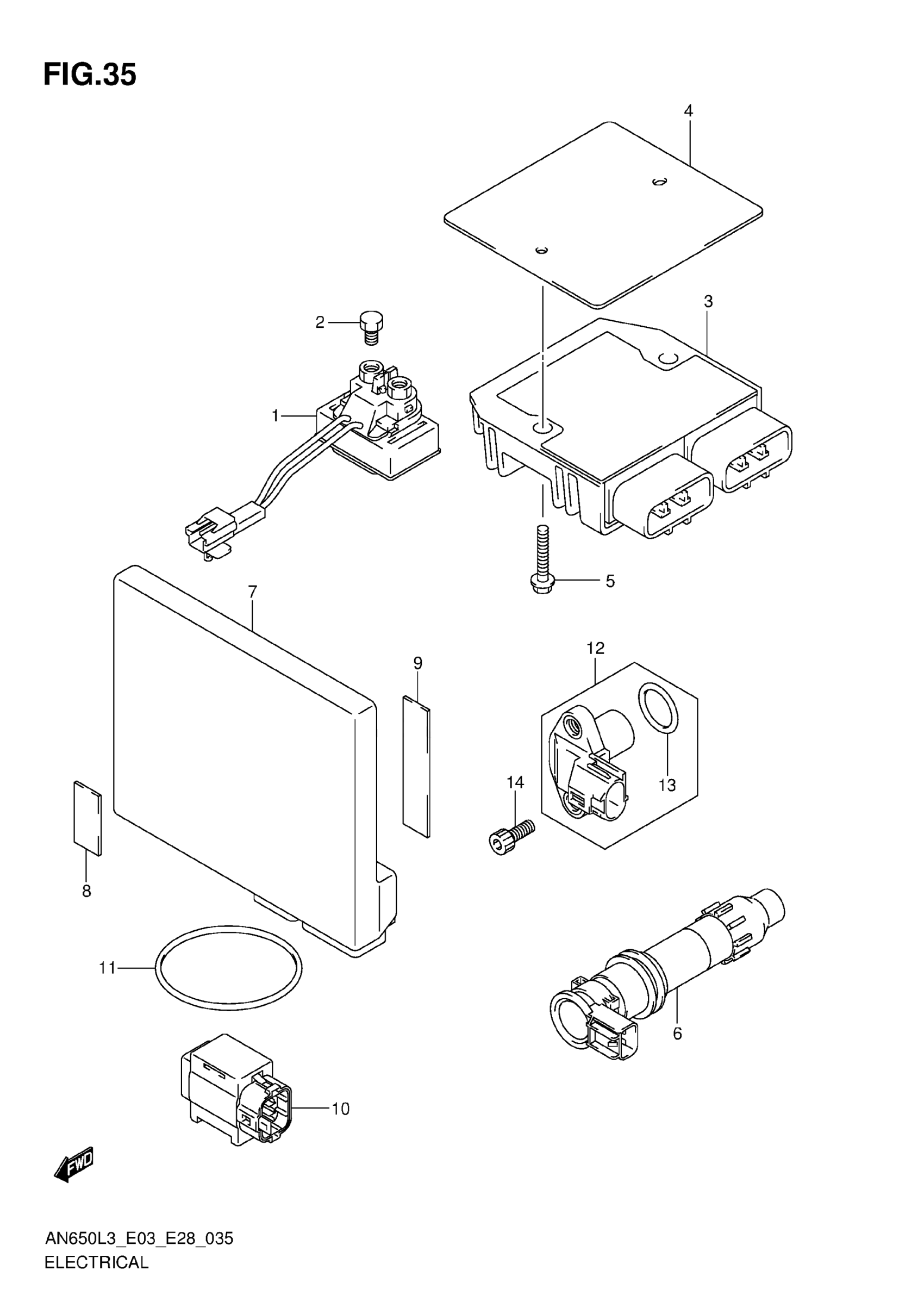
ELECTRICAL (AN650L3 E33)
Suzuki AN650L3 (2013) ELECTRICAL (AN650L3 E33) Diagram
#
Description
Price
4
PLATE, RECTIFIER
32832-26J00
Unavailable
