Partiron

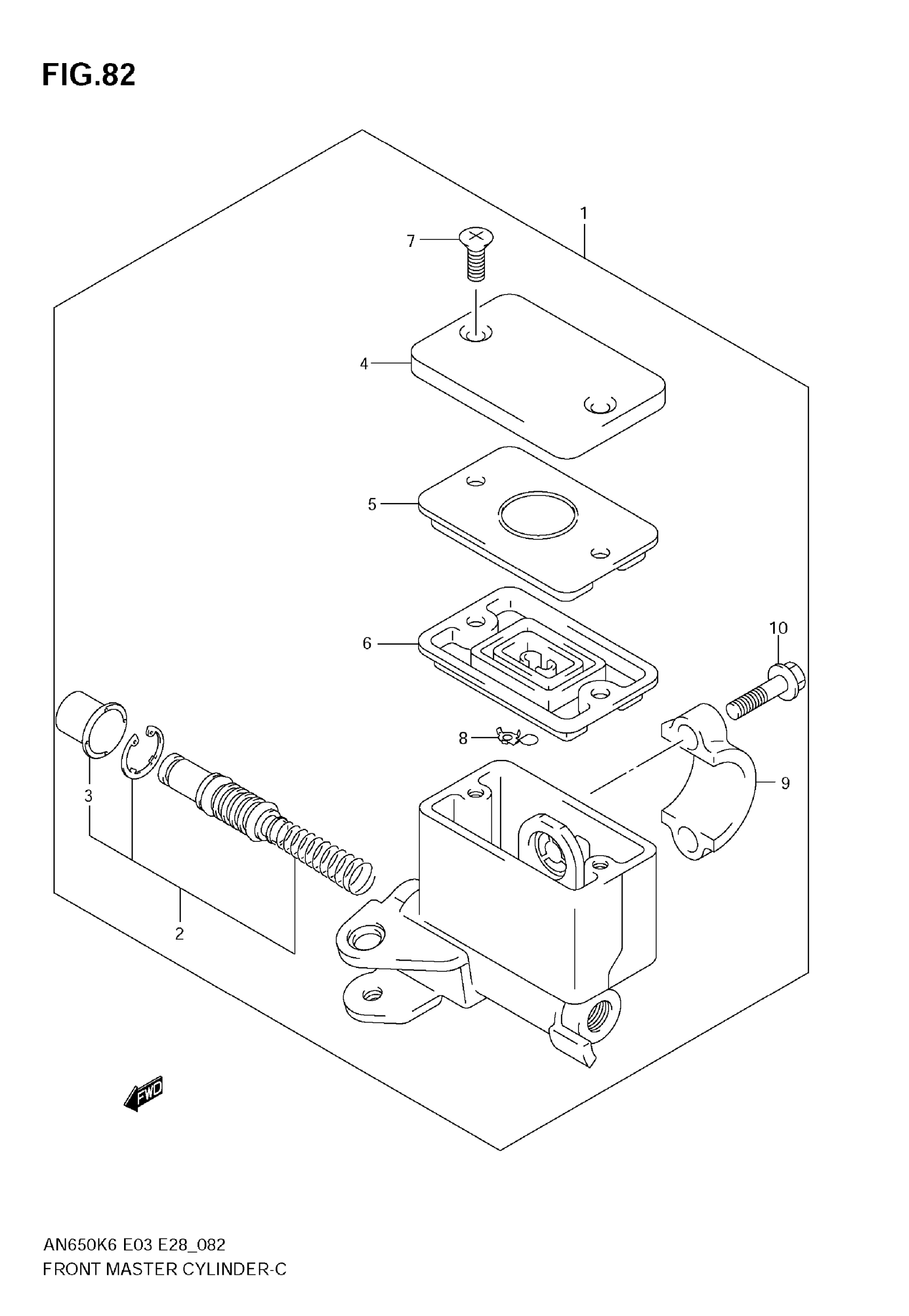
Suzuki AN650 (2009) FRONT MASTER CYLINDER Diagram

#

Description
Price

1

CYLINDER ASSY, FRONT MASTER | Includes Item(s) 2 - 10

59600-10G00

$303.63

2

PISTON/CUP SET

59600-04810

$45.20

3

BOOT

59666-44300

$5.80

4

CAP

59669-10G00

$38.30

5

PLATE, DIAPHRAGM

59668-41C00

$9.32

6

DIAPHRAGM

59667-49460

$9.78

7

SCREW

69689-49300

$1.91

8

PROTECTOR

59664-32F00

$11.68

9

.HOLDER

59671-36500

$12.21

10

BOLT

59675-02FA0

$3.82