- Partiron
- OEM Parts
- Suzuki
- Motorcycle
- 2005
- AN650 (2005)
FRONT FORK DAMPER (MODEL K3)
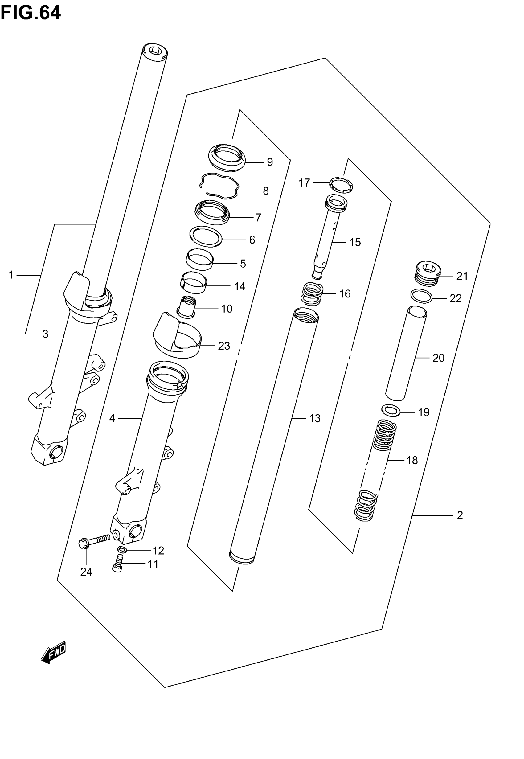
Suzuki AN650 (2005) FRONT FORK DAMPER (MODEL K3) Diagram
#
Description
Price
1
DAMPER ASSY, FRONT FORK RH
51103-10G00
Unavailable
2
DAMPER ASSY, FRONT FORK LH | Includes Item(s) 3 - 24
51104-10G00
Unavailable
3
TUBE, OUTER RH
51130-10G00
Unavailable
4
TUBE, OUTER LH
51140-10G00
Unavailable
15
CYLINDER
51146-10G00
Unavailable
16
SPRING, REBOUND
51177-10G00
Unavailable
18
SPRING, FRONT
51171-10G00
Unavailable
20
SPACER
51176-14A20
Unavailable
21
CAP
51351-10G00
Unavailable
23
PROTECTOR
51201-31F00
Unavailable
