- Partiron
- OEM Parts
- Suzuki
- Motorcycle
- 2005
- AN650 (2005)
CYLINDER HEAD
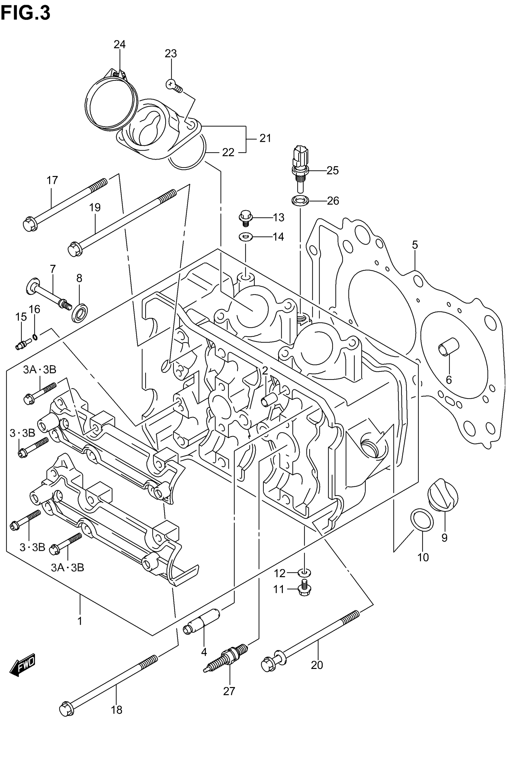
Suzuki AN650 (2005) CYLINDER HEAD Diagram
#
Description
Price
1
HEAD ASSY, CYLINDER | MODEL K3/K4
11100-10G00
Unavailable
1
HEAD ASSY, CYLINDER | MODEL K5; Includes Item(s) 2 - 3B
11100-10G10
Unavailable
7
BOLT, CYL HEAD SIDE FACE | MODEL K3/K4
11161-10G00
Unavailable
17
BOLT, CYLINDER HEAD (L:110)
11161-10G50
Unavailable
19
BOLT, CYLINDER HEAD (L:150)
09116-10130
Unavailable
20
BOLT, CYLINDER HEAD (L:155)
09116-10133
Unavailable
