Partiron

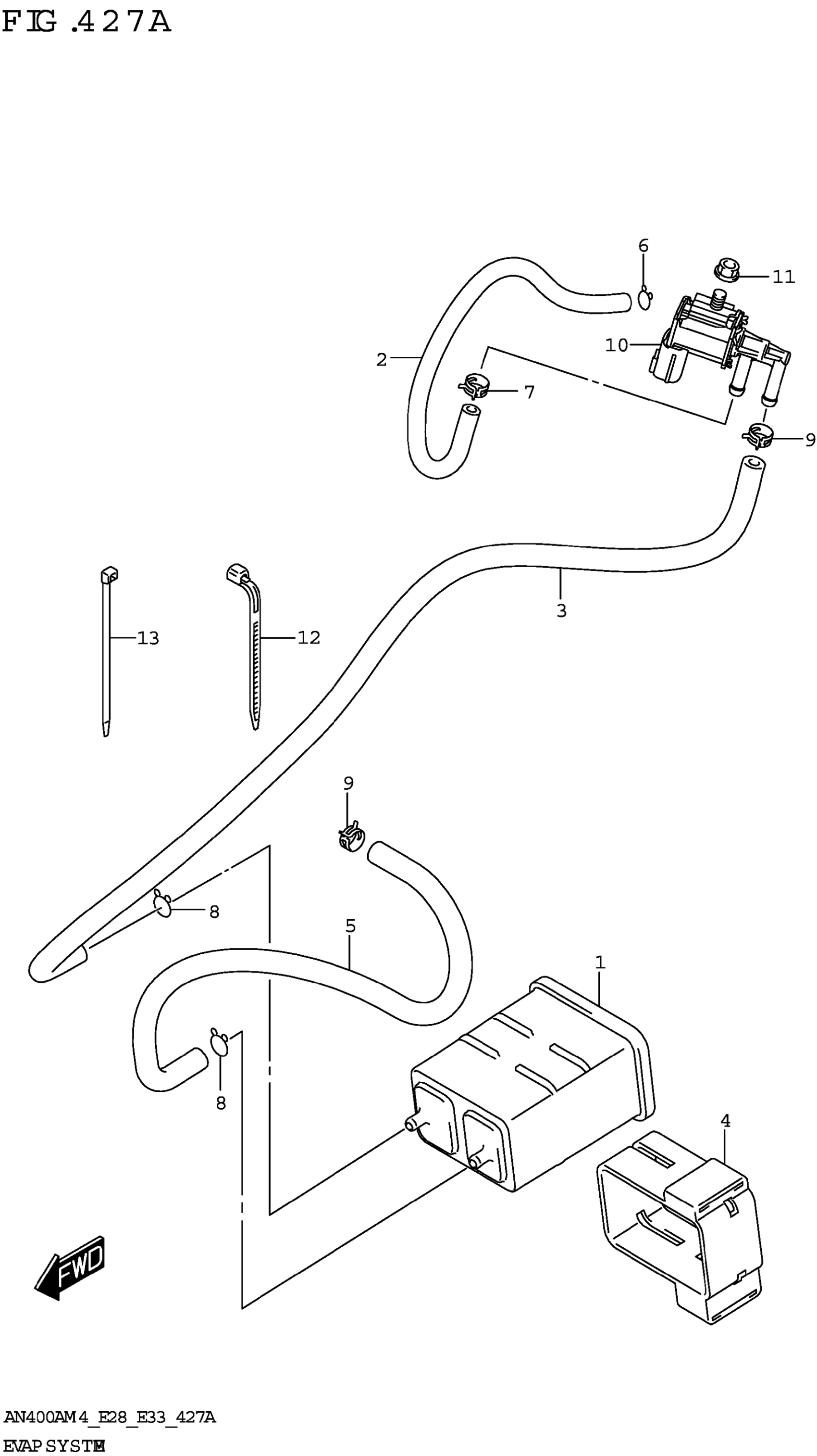
Suzuki AN400AM4 (2024) EVAP SYSTEM Diagram

#

Description
Price

1

CANISTER ASSY, CHARCOAL

18560-19K00

$129.33

2

HOSE,PURGE NO.1

18561-19K10

$17.53

3

HOSE,PURGE NO.2

18562-19K10

$29.03

4

CUSHION,CANISTER

18572-19K01

$16.23

5

HOSE,SURGE

44435-14G20

$26.38

6

CLIP (ID:6.5)

09401-06101

$2.03

7

CLIP (ID:8.6)

09401-08411

$1.78

8

CLIP

09401-10401

$1.49

9

CLIP (ID:10.5,H:8)

09401-10409

$2.26

10

VALVE,CANISTER PURGE

18117-52G10

$151.17

11

NUT (6X12)

08316-1006A

$2.19

12

CLAMP (L:145)

09407-14407

$3.57

13

CLAMP (L:165)

09407-18402

$2.19