Partiron

Suzuki AN400AM2 (2022) REAR SWINGINGARM Diagram

#

Description
Price

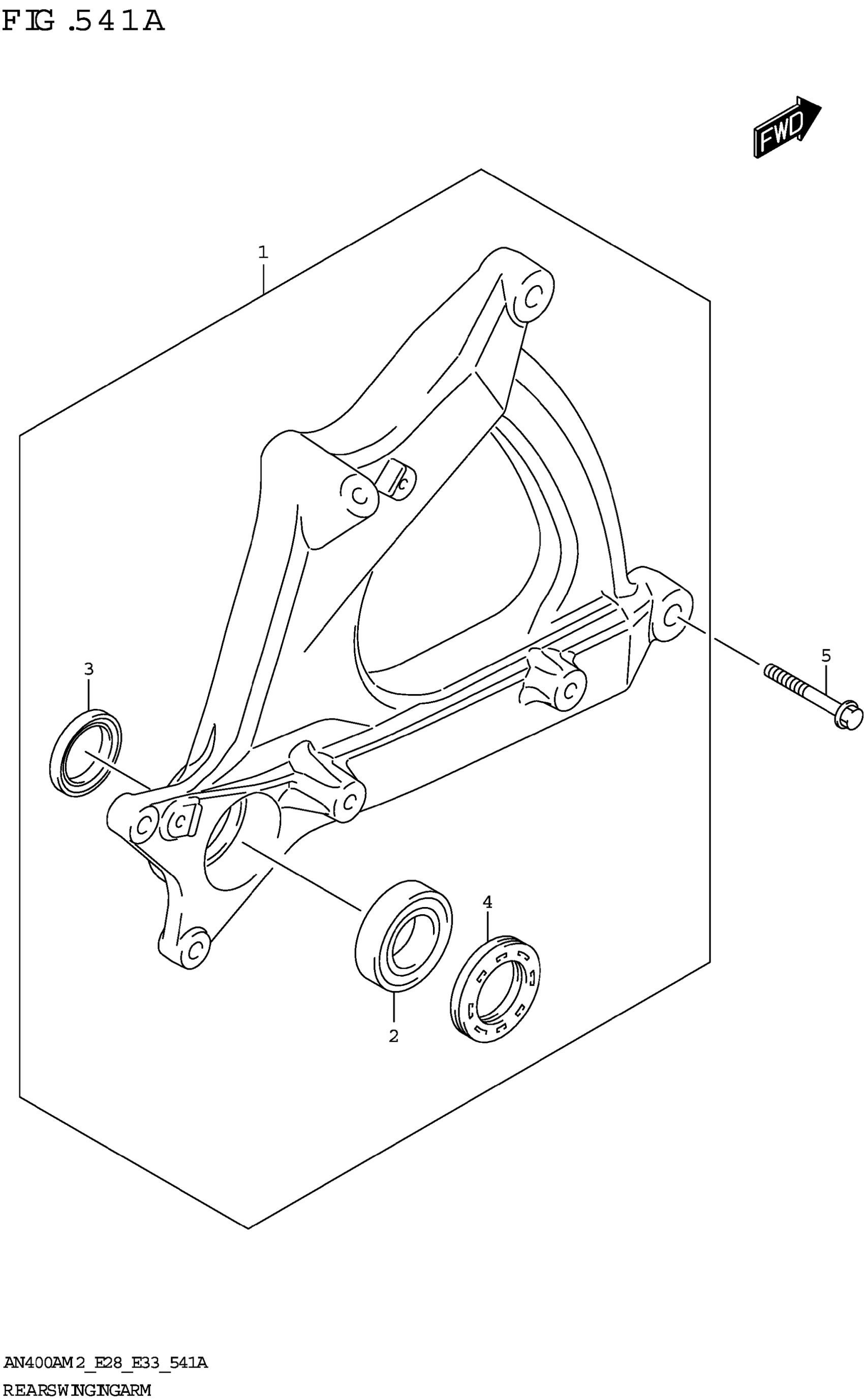
1

SWINGINGARM ASSY,RR

61000-19K01

$375.80

2

.BEARING (25X52X15)

09262-25186

$37.28

3

.OIL SEAL (32X47X7)

09283-32046

$12.22

4

.SEAL,OIL (32X52X7)

09285-32004

$7.98

5

BOLT

01550-1055A

$4.32