Partiron

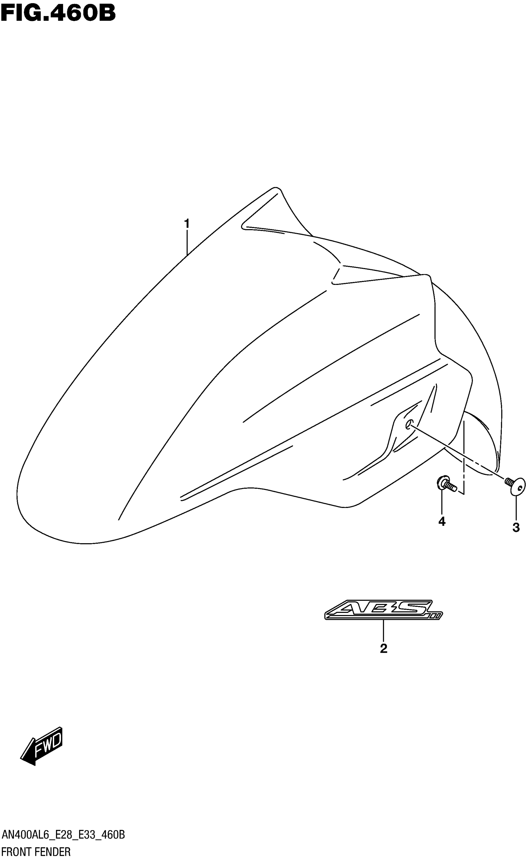
Suzuki AN400AL6 (2016) FRONT FENDER (AN400ZAL6 E28) Diagram

#

Description
Price

1

FENDER, FRONT (GRAY)

53111-05H00-PGZ

$349.70

2

EMBLEM,ABS This part replaces 68151-38G10-A79.

68151-38G11-A79

$12.77

3

SCREW (6X16)

09139-06131

$2.93

4

BOLT (6X16.5)

09111-06094

$2.03