- Partiron
- OEM Parts
- Suzuki
- Motorcycle
- 2014
- AN400AL4 (2014)
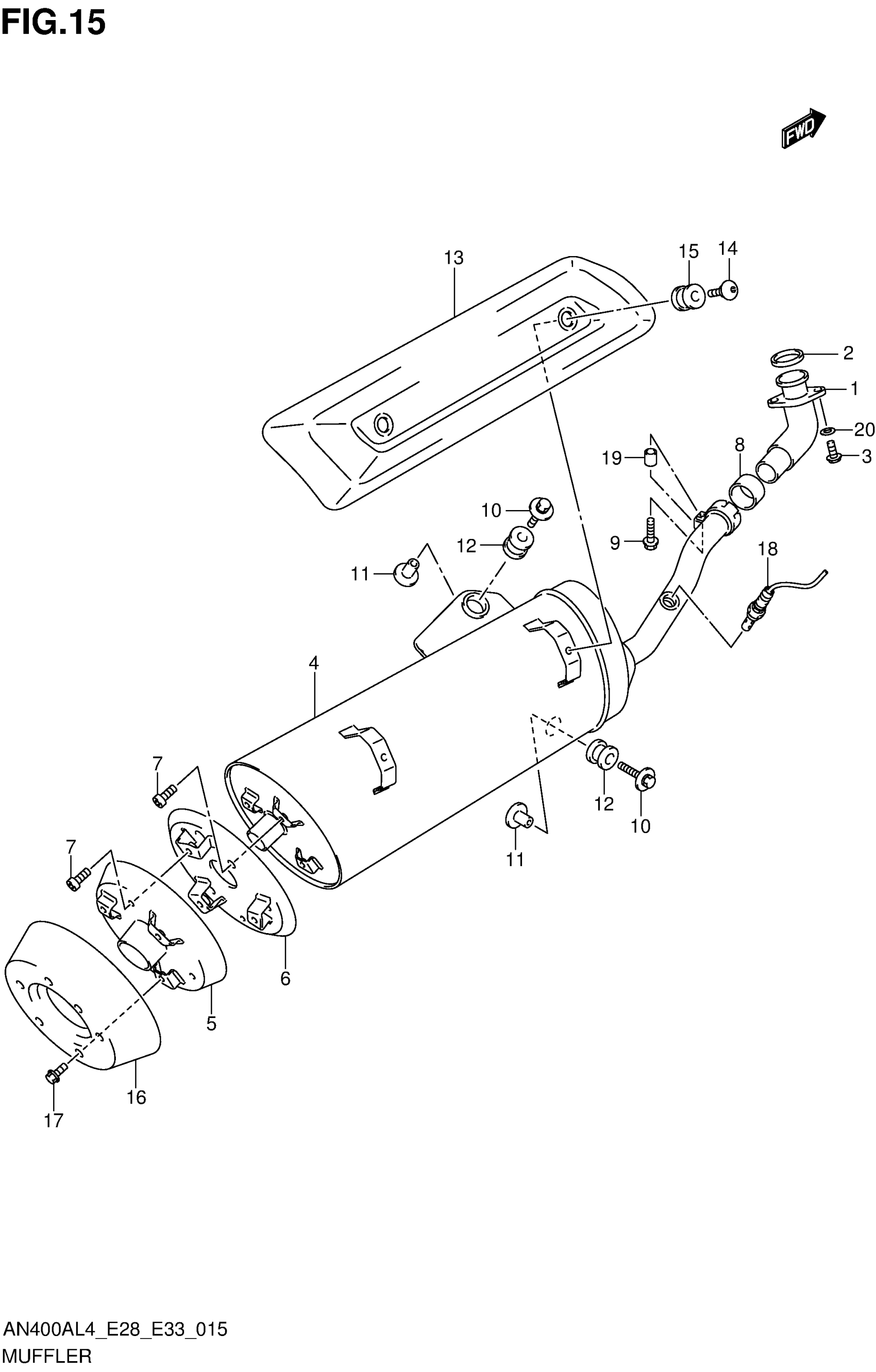
MUFFLER
Suzuki AN400AL4 (2014) MUFFLER Diagram
#
Description
Price
1
PIPE, EXHAUST
14150-05H01
Unavailable
5
STAY,MUFFLER RR COVER This part replaces 14760-05H00.
14760-05H01
Unavailable
6
STAY, RR COVER NO.2 This part replaces 14770-05H00.
14770-05H01
Unavailable
16
COVER, MUFFLER RR (BLACK)
14790-05H30-YAD
Unavailable
