- Partiron
- OEM Parts
- Suzuki
- Motorcycle
- 2013
- AN400AL3 (2013)
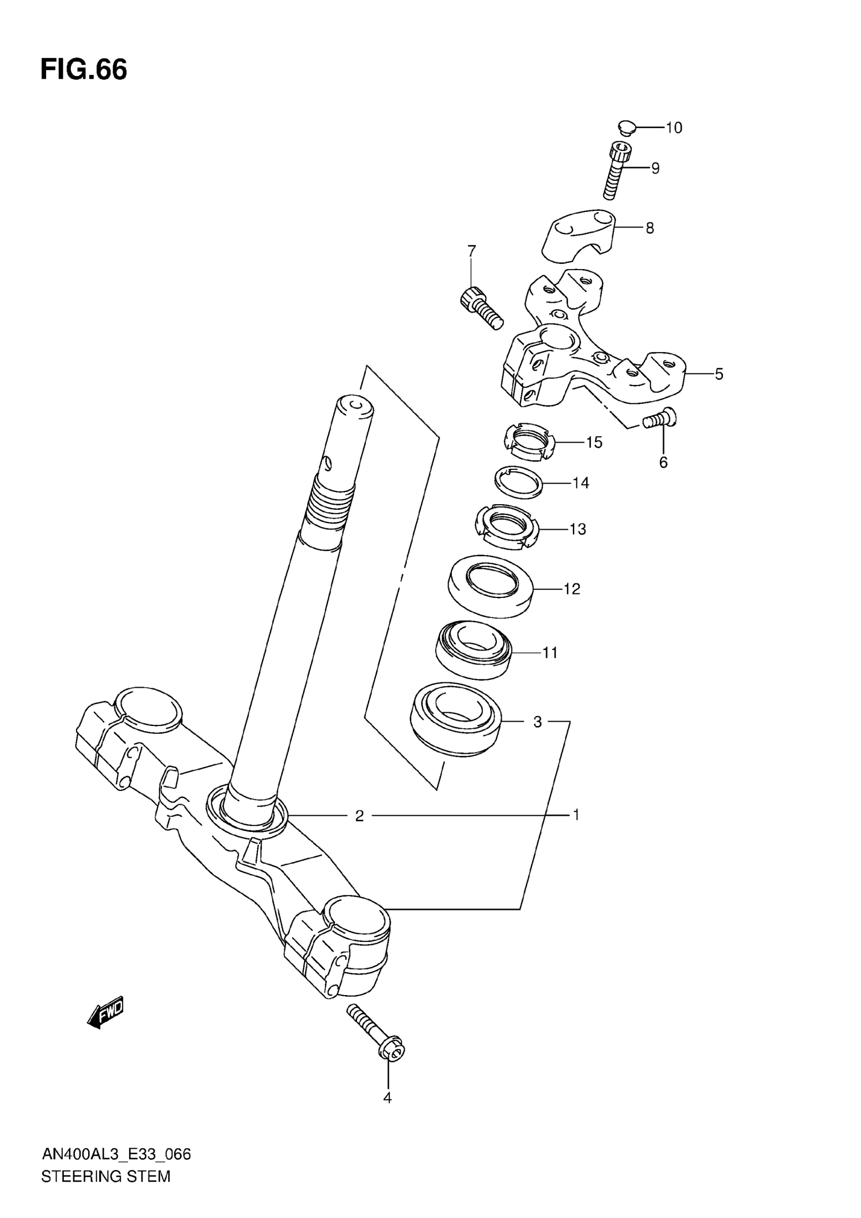
STEERING STEM
Suzuki AN400AL3 (2013) STEERING STEM Diagram
#
Description
Price
7
BOLT (10X25)
09106-10067
Unavailable
8
CLAMP, UPPER (SILVER) This part replaces 56211-42F00.
56211-31F00-0FP
Unavailable
