- Partiron
- OEM Parts
- Suzuki
- Motorcycle
- 2013
- AN400AL3 (2013)
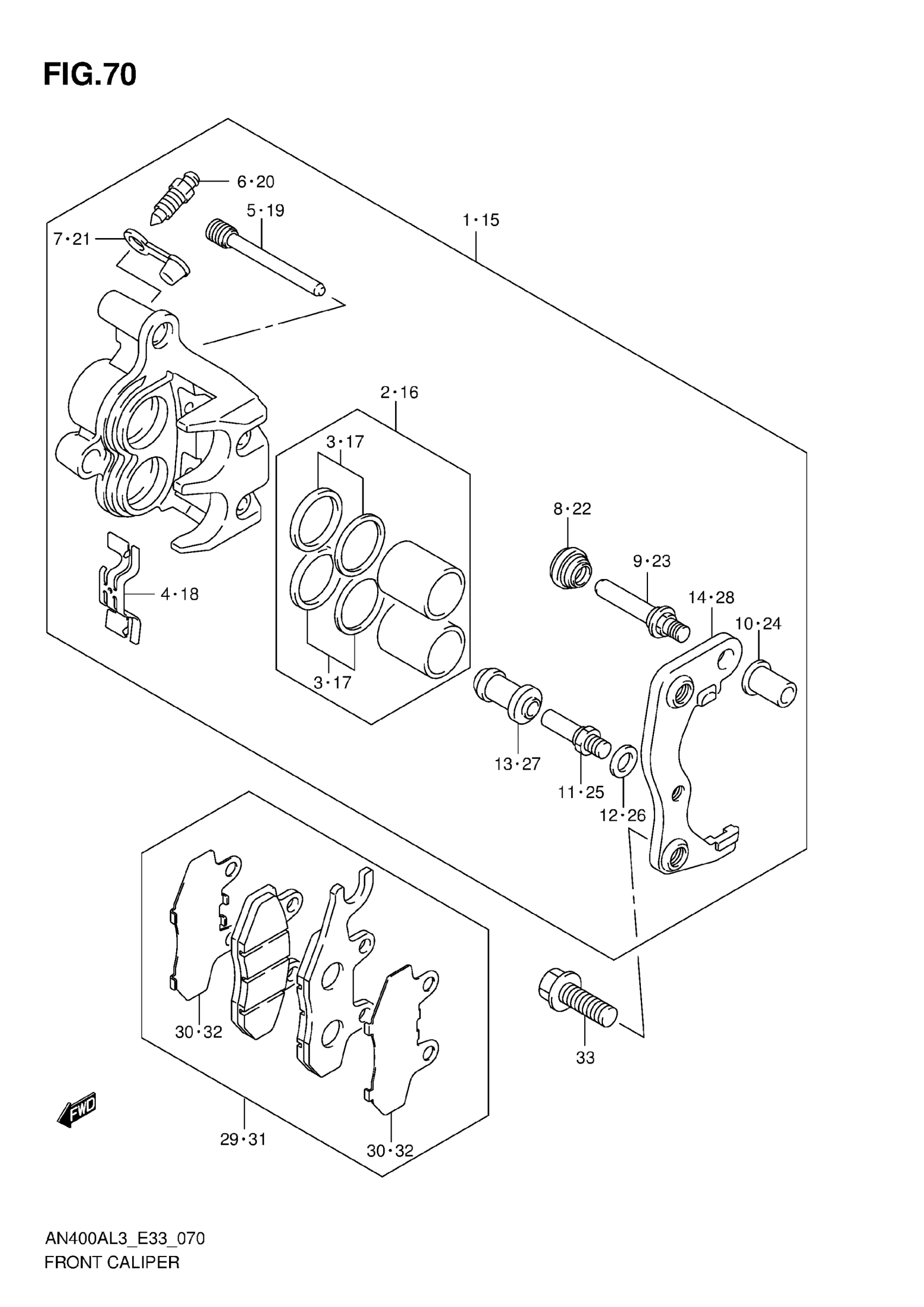
FRONT CALIPER
Suzuki AN400AL3 (2013) FRONT CALIPER Diagram
#
Description
Price
14
BRACKET RH
69151-31D00
Unavailable
15
CALIPER ASSY,FRONT LH
59300-05H10-999
Unavailable
28
BRACKET LH
59351-05H00
Unavailable
