- Partiron
- OEM Parts
- Suzuki
- Motorcycle
- 2011
- AN400AL1 (2011)
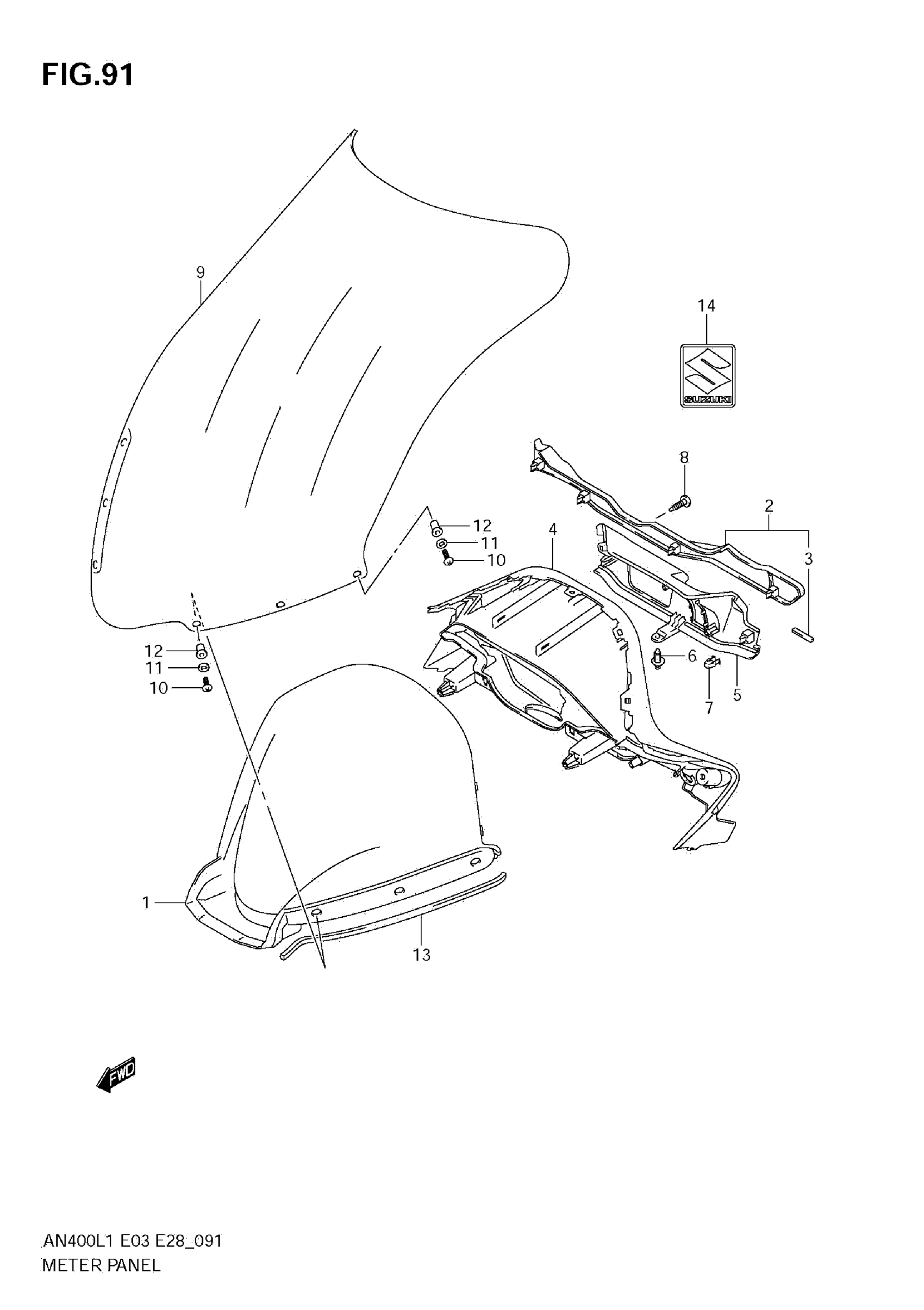
METER PANEL (AN400ZA L1 E33)
Suzuki AN400AL1 (2011) METER PANEL (AN400ZA L1 E33) Diagram
#
Description
Price
1
PANEL, METER FRONT (BLACK)
94421-05H00-291
Unavailable
2
PANEL, METER UPPER
94423-05H20
Unavailable
