- Partiron
- OEM Parts
- Suzuki
- Motorcycle
- 2011
- AN400AL1 (2011)
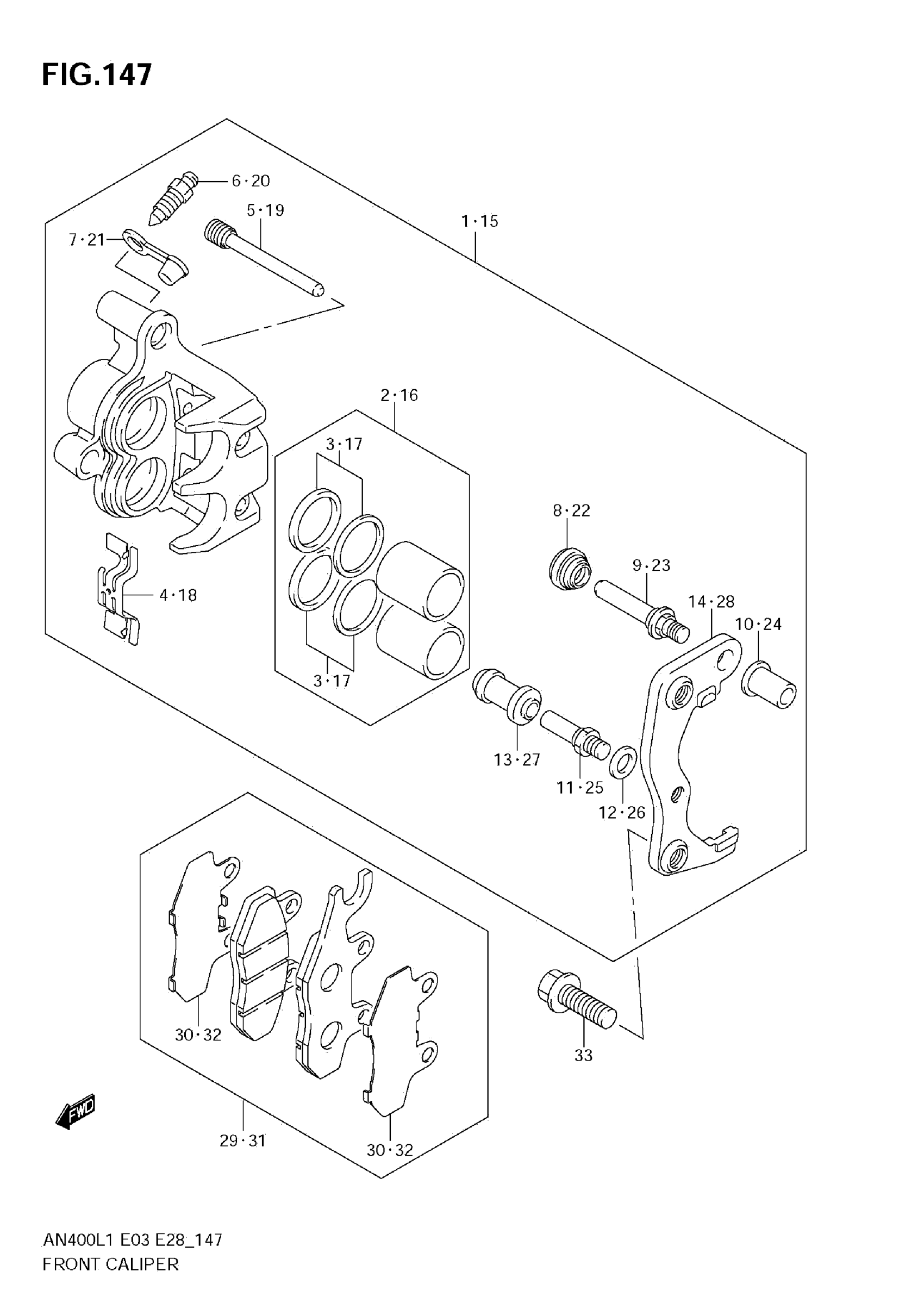
FRONT CALIPER
Suzuki AN400AL1 (2011) FRONT CALIPER Diagram
#
Description
Price
1
CALIPER ASSY, FRONT RH
59100-05H00-999
Unavailable
14
BRACKET RH
69151-31D00
Unavailable
15
CALIPER ASSY, FRONT LH
59300-05H00-999
Unavailable
28
BRACKET LH
59351-05H00
Unavailable
