- Partiron
- OEM Parts
- Suzuki
- Motorcycle
- 2009
- AN400AK9 (2009)
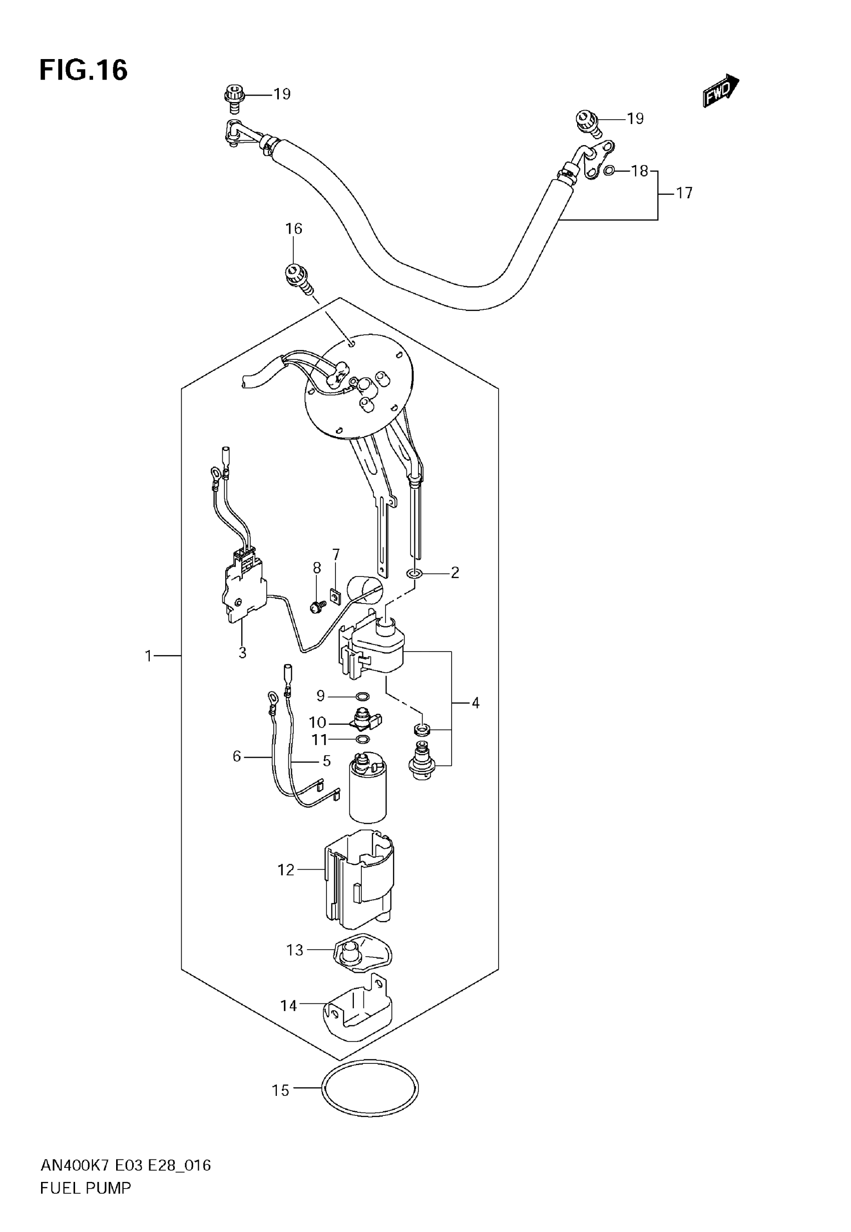
FUEL PUMP
Suzuki AN400AK9 (2009) FUEL PUMP Diagram
#
Description
Price
4
REGULATOR
15610-05H00
Unavailable
5
WIRE, LEAD
15115-05H00
Unavailable
6
WIRE, EARTH
15114-05H00
Unavailable
12
CUP | MODEL K7/K8
15111-05H00
Unavailable
19
BOLT
07130-0610A
Unavailable
