- Partiron
- OEM Parts
- Suzuki
- Motorcycle
- 2006
- AN400 (2006)
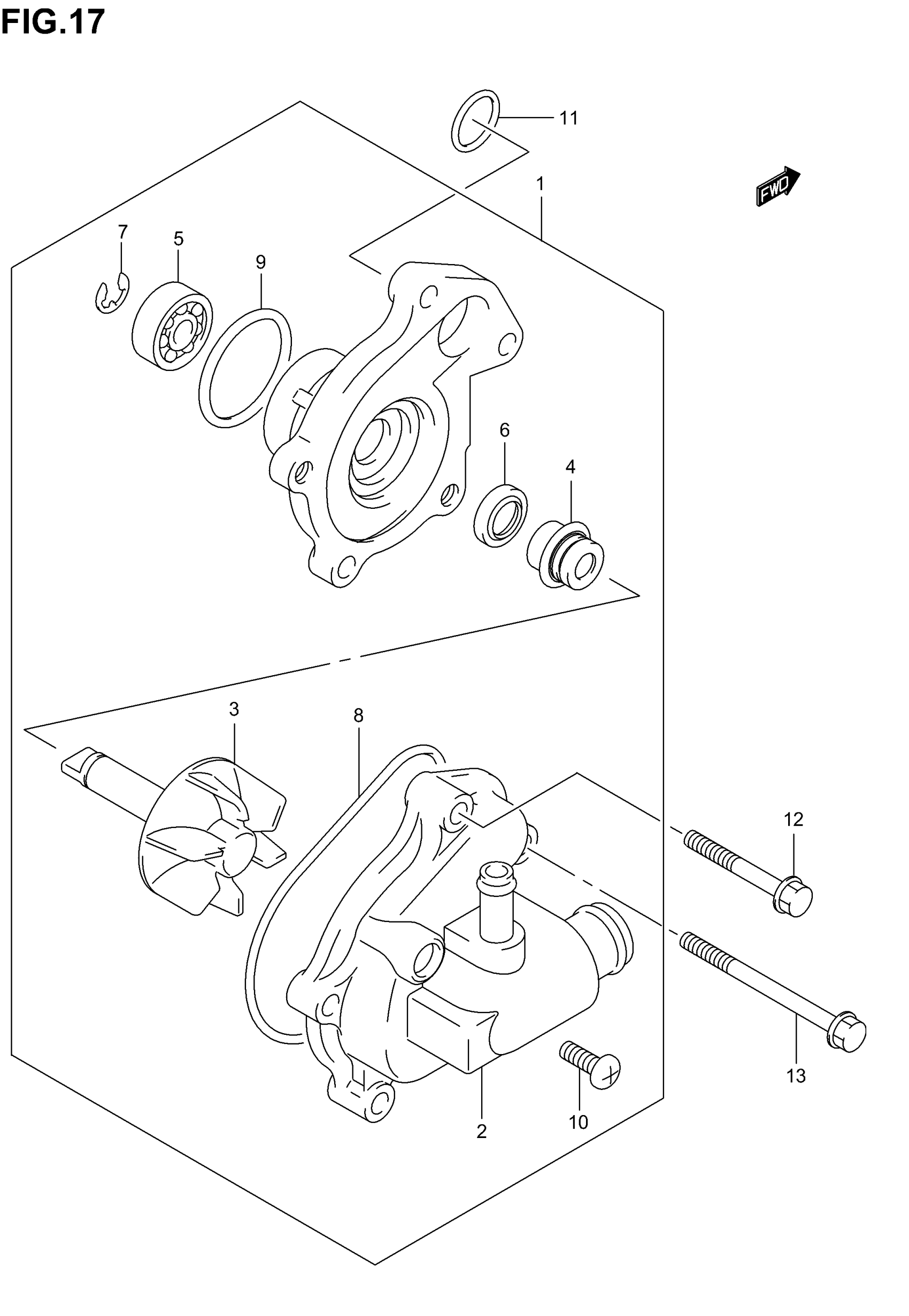
WATER PUMP
Suzuki AN400 (2006) WATER PUMP Diagram
#
Description
Price
2
CASE ASSY
17411-14G00
Unavailable
3
IMPELLER
17491-21F00
Unavailable
