- Partiron
- OEM Parts
- Suzuki
- Motorcycle
- 2006
- AN400 (2006)
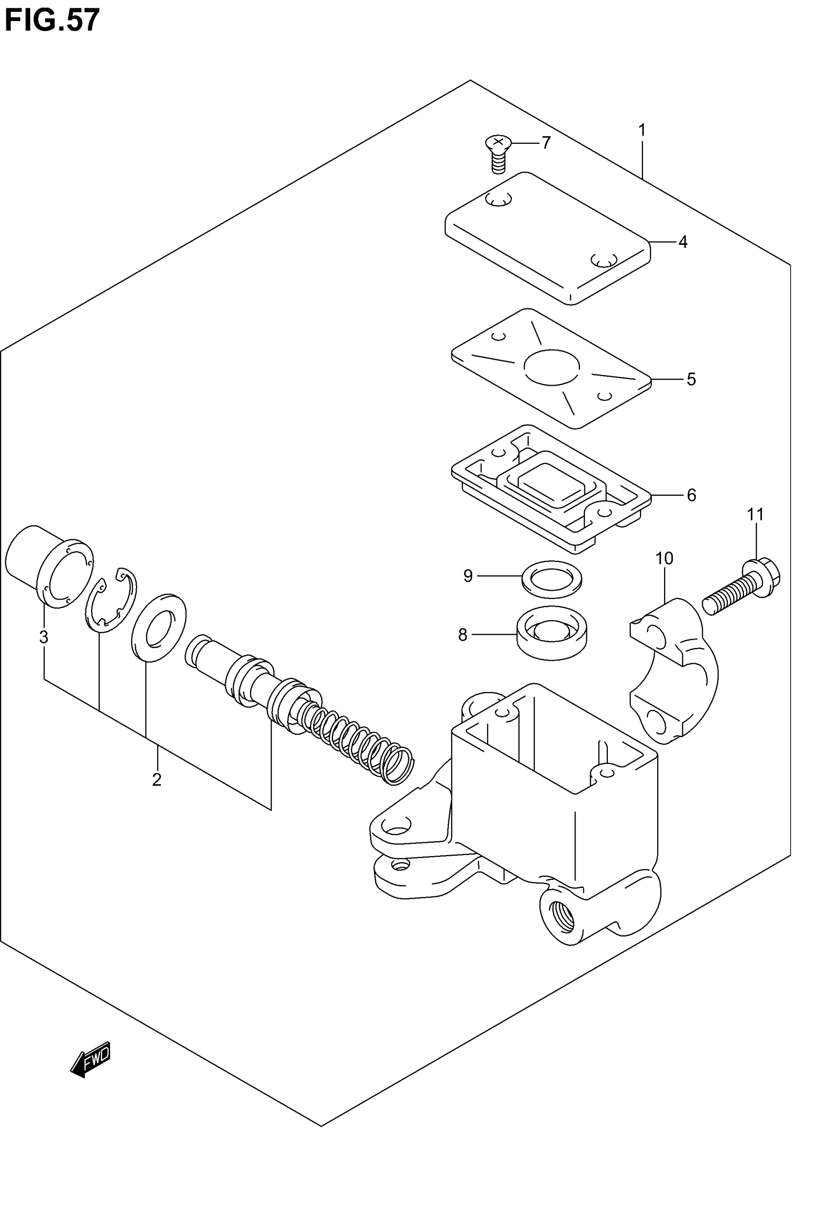
FRONT MASTER CYLINDER
Suzuki AN400 (2006) FRONT MASTER CYLINDER Diagram
#
Description
Price
1
CYLINDER ASSY,F | Includes Item(s) 2 - 11 This part replaces 59600-14F30.
59600-14F31
Unavailable
