Partiron

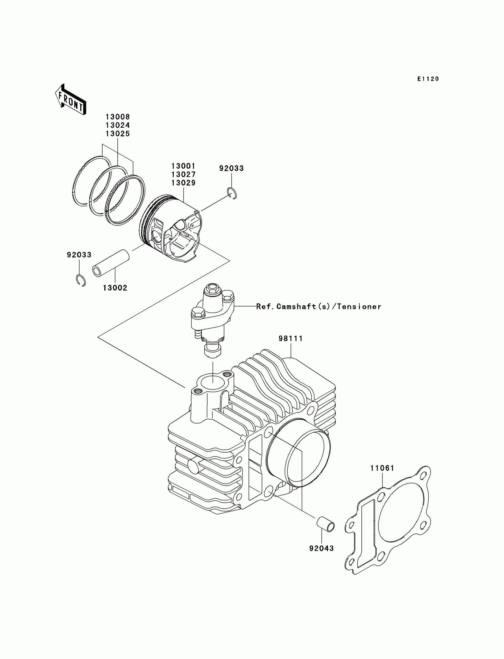
Kawasaki AN112 Cylinder/Piston(s) Diagram

#

Description
Price

11061

GASKET,CYLINDER BASE

11061-0256

$11.82

13001

PISTON-ENGINE,STD

13001-1512

Unavailable

13002

PIN-PISTON

13002-1123

Unavailable

13008

RING-SET-PISTON,STD

13008-1189

$39.68

13024

RING-SET-PISTON LL,O/S 1.00

13024-1119

$39.06

13025

RING-SET-PISTON L,O/S 0.50

13025-1148

$39.06

13027

PISTON-ENGINE LL,O/S 1.00

13027-1198

Unavailable

13029

PISTON-ENGINE L,O/S 0.50

13029-1255

Unavailable

92033

RING-SNAP

92033-1072

$3.89

92043

PIN,8.2X10X14

92043-0100

$3.71

98111

CYLINDER-COMP-ENGINE

98111-1083

$152.94