Partiron

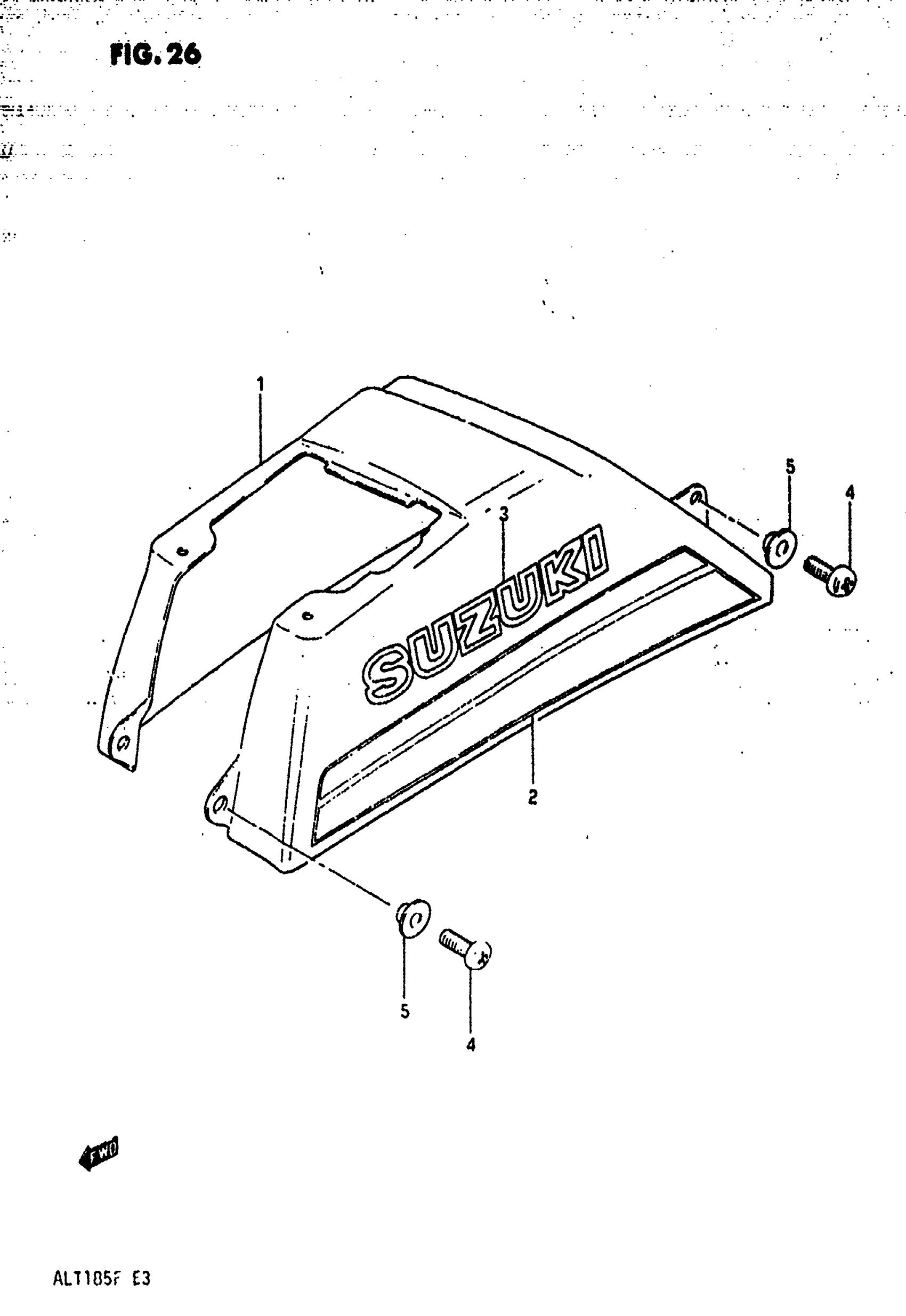
Suzuki ALT185 (1985) FRAME COVER Diagram

#

Description
Price

1

NO DESCRIPTION AVAILABLE This part replaces 47111-24301-00N.

47111-24302-13L

Unavailable

2

NO DESCRIPTION AVAILABLE This part replaces 68130-24400-96Z.

68130-24401-96Z

Unavailable

3

EMBLEM This part replaces 68112-18901-94A.

68112-18901-7ZP

Unavailable

4

SCREW This part replaces 02142-06128.

02142-06127

$1.49

5

WASHER

09169-06040

$1.92