- Partiron
- OEM Parts
- Polaris
- ATV
- 2005
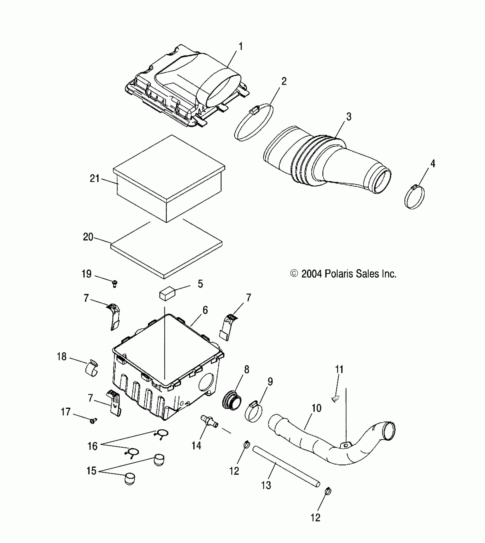
- A05GJ50AA PREDATOR 500 - A05GJ50AA/AB/AC
AIR INTAKE - A05GJ50AA/AB/AC (4995119511B13)
Polaris A05GJ50AA PREDATOR 500 - A05GJ50AA/AB/AC AIR INTAKE - A05GJ50AA/AB/AC (4995119511B13) Diagram
#
Description
Price
1
Lid, Airbox
5435990
Unavailable
3
Duct, Airbox/Carburetor
5434472
Unavailable
5
Filter, Crankcase
5812361
Unavailable
6
Housing, Airbox
5434448
Unavailable
7
Bracket, Airbox
5334128
Unavailable
7
Bracket, Airbox
5334128
Unavailable
7
Bracket, Airbox
5334128
Unavailable
9
Clamp
7080140
Unavailable
13
Line
8450096-100
Unavailable
15
Cap, Drain
5411765
Unavailable
17
Screw
7518165
Unavailable
20
Foam, Airbox
5812328
Unavailable
