- Partiron
- OEM Parts
- KTM
- Street
- Naked Bike
- Naked
- Naked Big
- 990 Super Duke
- 990 Super Duke 2011
- 990 SUPER DUKE BLACK 2011
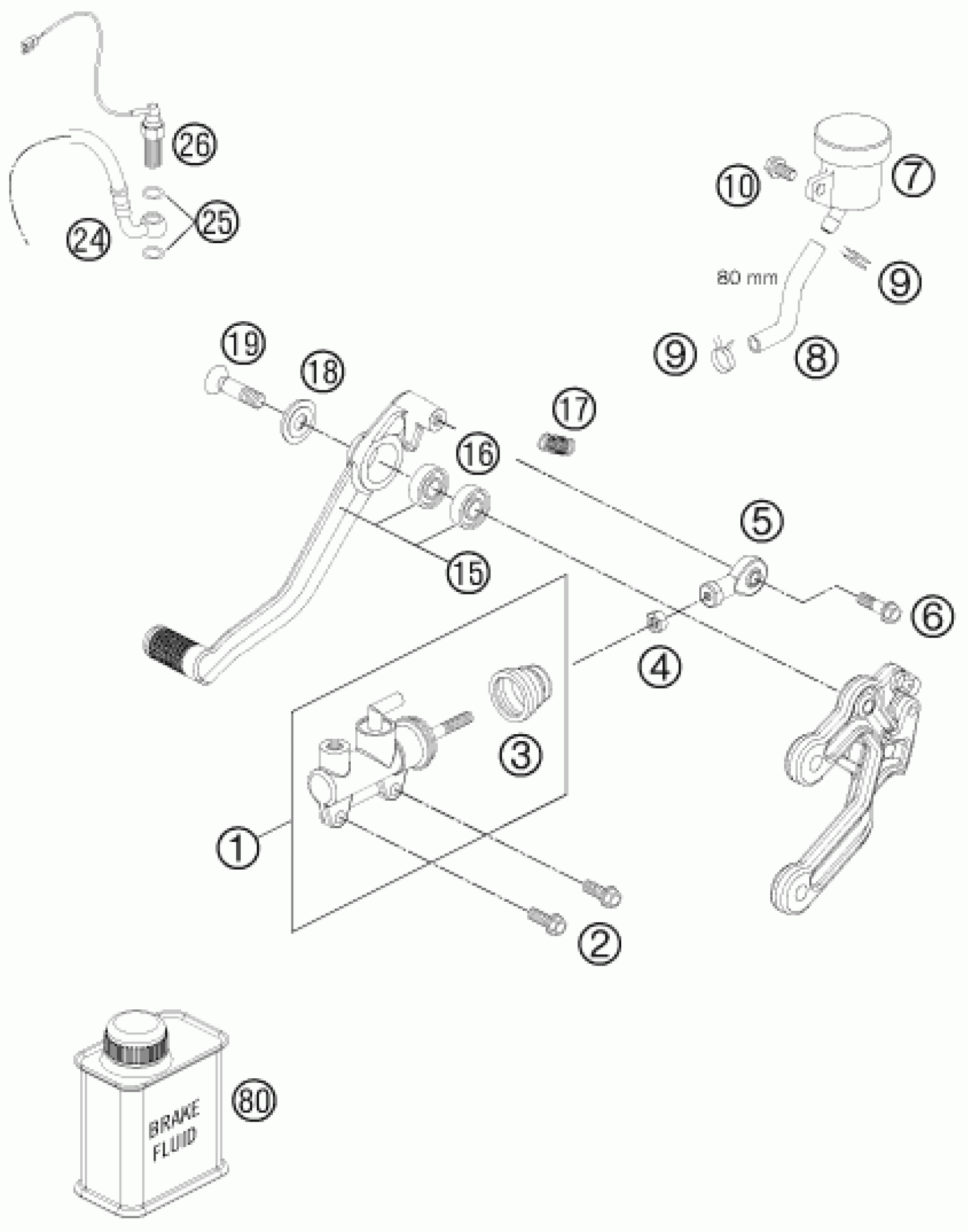
REAR BRAKE CONTROL
KTM 990 SUPER DUKE BLACK 2011 REAR BRAKE CONTROL Diagram
#
Description
Price
15
FOOT BRAKE LEVER CPL. 07
6101305004433S
Unavailable
18
SPECIAL WASHER ALU 8X24 MM
58303061200
Unavailable
