- Partiron
- OEM Parts
- Suzuki
- Motorcycle
- 1968
- 80K10P (1968)
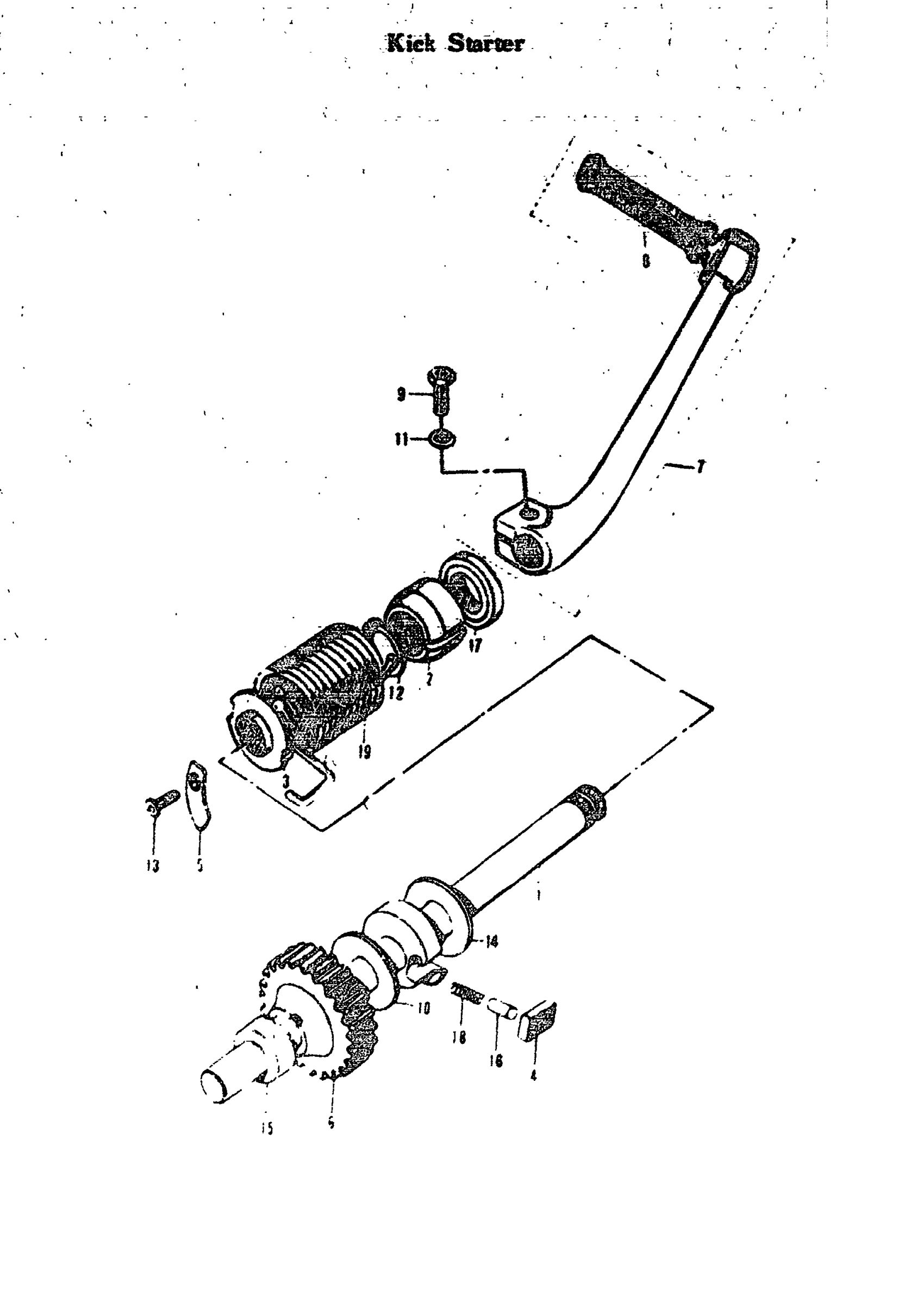
KICK STARTER
Suzuki 80K10P (1968) KICK STARTER Diagram
#
Description
Price
1
KICK STARTER SHAFT
26211-03001
Unavailable
2
GUIDE, RETURN SPRING This part replaces 26221-01001.
26221-01030
Unavailable
3
KICK STARTER SHAFT RETURN SPR
26222-01001
Unavailable
4
KICK STARTER SHAFT PAUL
26231-01000
Unavailable
6
KICK STARTER PINION | N.T.=32
26241-03000
Unavailable
7
LEVER ASSY,KICK | ATED This part replaces 26300-03002.
26300-35553
Unavailable
14
WASHER (14X29X1.5) | P; O.D.=29(1.14),I.D=14(0.565)06) This part replaces 09160-14005.
09160-14046-XC0
$4.83
15
KICK STARTER PINION SPACER | P; O.D.=20(0.79).I.D.=12(0(0.35)
09180-12015
Unavailable
16
KICK STARTER SHAFT PAWL RODLE | O.D.=5.0(0.20).I.=8(0.3
09202-05004
Unavailable
17
OIL SEAL (14X24X6) | O.D.=24(0.94).I.D.=14(0.0(0.23) This part replaces 09285-14001.
09285-14002
$16.88
19
KICK STARTER SHAFT RETURN SPR | P; O.D.=32.6(1.52) I.D.=33.; O.D.=32.6(1.52) I.D.=33.
09448-38001
Unavailable
