- Partiron
- OEM Parts
- KTM
- Street
- Naked Bike
- Naked
- Naked Mid
- 640 Duke
- 640 Duke II 1998
- 640 DUKE-E <1998>
COOLING SYSTEM
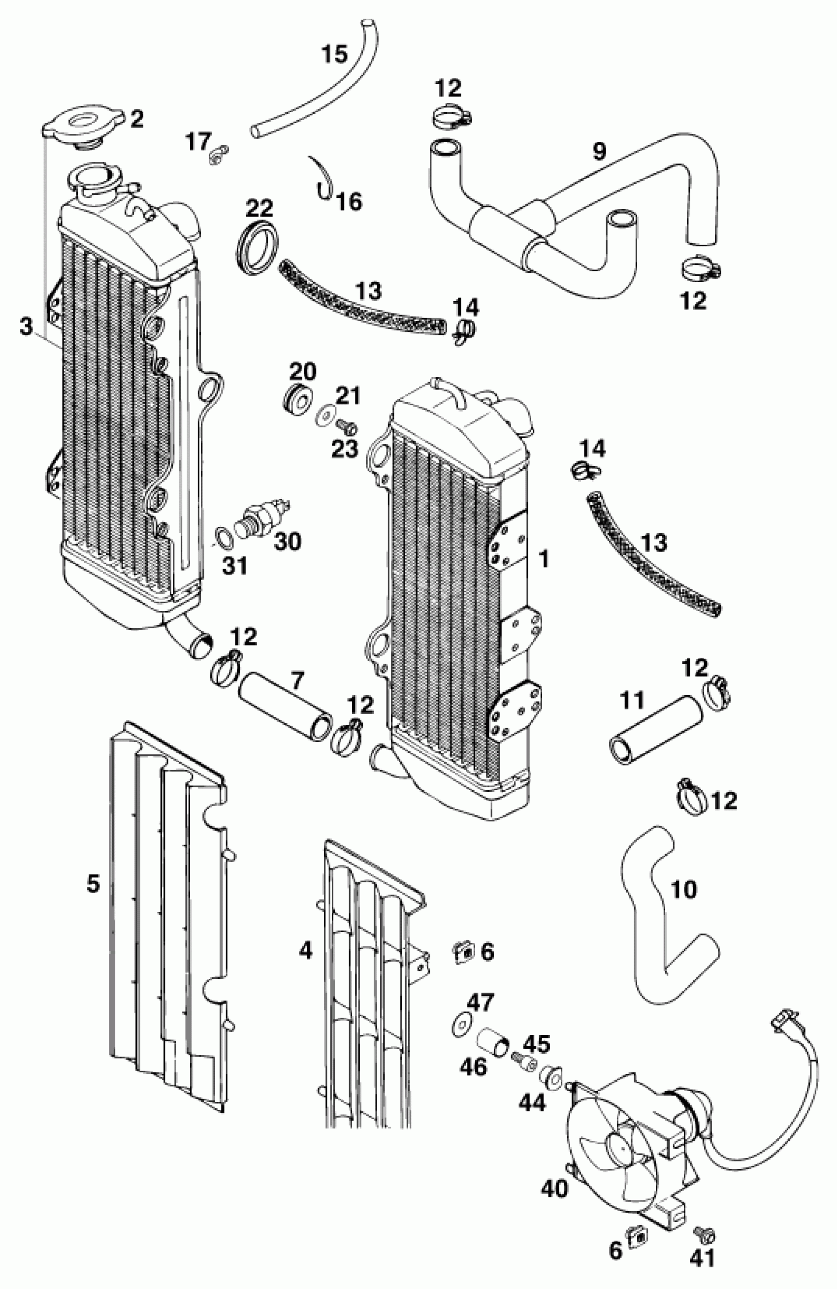
KTM 640 DUKE-E <1998> COOLING SYSTEM Diagram
#
Description
Price
4
RADIATOR PROTECT. L/S WHITE'96
58035034100
Unavailable
5
RADIATOR PROTECT. R/S WHITE'96
58035134100
Unavailable
7
RADIATOR HOSE 18X25 PER METRE
56535025001
Unavailable
10
PREFORMED HOSE 18X25 PUMP-CY
58435025700
Unavailable
11
RADIATOR HOSE 20X26
58335024001
Unavailable
13
HOSE ID 7,5 PER METER
54435024001
Unavailable
15
PVC-HOSE 7X10 PER METER
55007016001
Unavailable
16
Cable tie 200/4.6mm black
44011076200
Unavailable
40
FAN CPL. WITH CASE
58335041044
Unavailable
